Разработка осевого вентилятора местного проветривания, регулируемого углом установки лопаток рабочего колеса
П.В. Косых1, С.А. Колотов1,2
1 Институт горного дела им. Н.А. Чинакала СО РАН, г. Новосибирск, Российская Федерация
2 ООО «Кемеровский машиностроительный завод», г. Кемерово, Российская Федерация
Горная Промышленность №2 / 2025 стр.35-40
Резюме: В статье проведены исследования модульного осевого вентилятора диаметром 0,9 м с рабочим колесом, имеющим специальные узлы крепления лопаток, позволяющими осуществлять регулирование углов установки лопаток. Для повышения давления в вентиляционной сети возможна последовательная работа двух вентиляторов, при этом углы установки лопаток в каждом вентиляторе могут отличаться. При таком модульном режиме работы на аэродинамические характеристики совместной работы вентиляторов влияют как наличие входного направляющего аппарата, так и углы установки лопаток. Для вентилятора на основе вычислительных экспериментов определены расчётные аэродинамические характеристики при присоединенном входном направляющем аппарате и при его отсутствии, а также двух последовательно подключённых вентиляторов. Показано, что в случае разных углов установки лопаток у двух последовательно присоединённых вентиляторов большая эффективность достигается при меньших, чем расчётный, углах установки лопаток второй машины. Проведён аэродинамический расчёт переходного режима работы двух последовательно присоединённых вентиляторов и определены частоты вынуждающих аэродинамически обусловленных внешних сил. На основании проведенных исследований сделан вывод о допустимости регулирования углом установки лопаток двух последовательно присоединённых машин.
Ключевые слова: осевой вентилятор местного проветривания, регулирование вентилятора, модульный осевой вентилятор
Для цитирования: Косых П.В., Колотов С.А. Разработка осевого вентилятора местного проветривания, регулируемого углом установки лопаток рабочего колеса. Горная промышленность. 2025;(2):35–40. https://doi.org/10.30686/1609-9192-2025-2-35-40
Информация о статье
Поступила в редакцию: 18.01.2025
Поступила после рецензирования: 03.03.2025
Принята к публикации: 04.03.2025
Информация об авторах
Косых Павел Владимирович – кандидат технических наук, научный сотрудник лаборатории рудничной аэродинамики, Институт горного дела им. Н.А. Чинакала СО РАН, г. Новосибирск, Российская Федерация; e-mail: Адрес электронной почты защищен от спам-ботов. Для просмотра адреса в вашем браузере должен быть включен Javascript.
Колотов Сергей Александрович – аспирант лаборатории рудничной аэродинамики, Институт горного дела им. Н.А. Чинакала СО РАН, г. Новосибирск, Российская Федерация; директор ООО «Кемеровский машиностроительный завод», г. Кемерово, Российская Федерация; e-mail: Адрес электронной почты защищен от спам-ботов. Для просмотра адреса в вашем браузере должен быть включен Javascript.
Введение
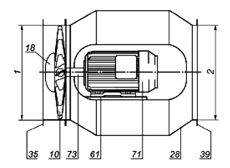
Адаптивность вентиляторов, выражающаяся в их способности работать в устойчивом и эффективном режиме в сетях с различным сопротивлением, является одной из их важнейших характеристик. Вентиляторы, предназначенные для проветривания тупиковых выработок в шахтах или являющиеся частью газоотсасывающих установок, в процессе эксплуатации могут использоваться в сетях с различным сопротивлением, а требуемая производительность может отличаться в зависимости от интенсивности проведения работ и других факторов [1]. Одним из основных способов повышения адаптивных качеств вентиляторов является их регулирование. Среди ряда преимуществ осевых вентиляторов к основным можно отнести технологичность изготовления рабочих лопаток и возможность их поворота, что позволяет обеспечить возможность регулирования вентилятора путем изменения угла установки лопатки [2]. Такое регулирование обеспечивает большую глубину по сравнению с регулированием поворотом входного направляющего аппарата (ВНА) [3]. ООО «КМЗ» совместно с ИГД СО РАН им. Н.А. Чинакала был разработан осевой вентилятор с рабочим колесом диаметром 0,9 м, обладающий возможностью изменения угла установки лопаток рабочего колеса (РК). Особенностью данного вентилятора является возможность последовательного присоединения таких машин, а также присоединения дополнительных элементов, таких как диффузор, входной или промежуточный направляющий аппарат с неподвижными лопатками или с изменяемым углом их установки. Возможности модульного исполнения таких машин позволяет получить широкий набор конструктивного исполнения вентиляторов для работы при различных требованиях к вентиляционным сетям. Вентилятор имеет прямой привод, рабочее колесо установлено на вал приводного двигателя. Электродвигатель этого вентилятора имеет мощность 90 кВт и скрыт обтекателем с диаметром, равным диаметру втулки рабочего колеса (рис. 1). По своей компоновочной схеме описываемый вентилятор схож с осевым одноступенчатым вентилятором с прямым приводом, с двигателем, размещенным в защитном корпусе, приведённым в ГОСТ 34002–2016 1.

Рис. 1 Компоновочная схема осевого вентилятора с рабочим колесом диаметром 0,9 м
Fig. 1 Layout of the axial fan with a 0.9 m diameter impeller
Лопатки вентилятора рассчитаны по полной схеме входной направляющий аппарат + колесо + спрямляющий аппарат (ВНА + К + СА) на рабочую точку Q = 14 м3/с при полном давлении Pv = 5000 Па. Втулочное отношение составляет v = 0,655 и продиктовано главным образом габаритными размерами электродвигателя. Число лопаток РК составляет 14, лопаток ВНА и СА – 20. После проектировочного расчёта были определены характеристики вентилятора в программном комплексе ANSYS CFX [5] при разных углах установки лопаток РК – расчётном угле и уменьшенном на 10°, а также при присоединённом и отсутствующем ВНА. Фрагмент расчётной модели с конечно-объёмной сеткой на привтулочном радиусе приведен на рис. 2.

Рис. 2 Конечно-объёмная сетка модели вентилятора в ANSYS CFX
Fig. 2 A finite volume mesh of the fan model in ANSYS CFX
Рассчитанные характеристики приведены на рис. 3.

Рис. 3 Аэродинамические характеристики одноступенчатого модульного вентилятора: 1 – с ВНА, угол установки лопаток 21°; 2 – без ВНА, угол установки лопаток 21°; 3 – с ВНА, угол установки лопаток 11°; 4 – без ВНА, угол установки лопаток 11°
Fig. 3 Aerodynamic characteristics of a single-stage modular fan: 1 – with an inlet guide vane, the blade angle of 21°; 2 – without an inlet guide vane, the blade angle of 21°; 3 – with an inlet guide vane, the blade angle of 11°; 4 – without an inlet guide vane, the blade angle of 11°
Методика проведения численного моделирования
Идея данного исследования заключается в оценке влияния таких конструктивных параметров вентилятора, как количество модулей, углы установки лопаток и наличие или отсутствие НА, на аэродинамические характеристики вентилятора. Для моделирования течения воздушного потока в осевом вентиляторе и в воздушных трактах вентиляционной системы использованы методы вычислительной аэродинамики, а именно составление уравнений Навес-Стокса [5–7], осредненных по Рейнольдсу (k – ε) – модель турбулентности, и решение их методом конечных объемов в программном пакете ANSYS CFX и Fluent. Поскольку вентилятор отличается модульной конструкцией, выражающейся как в возможности присоединения входных и выходных элементов с унифицированным креплением, так и в последовательной сборке нескольких вентиляторов, в ANSYS CFX были рассчитаны характеристики вентиляторных сборок, состоящих из двух последовательно установленных машин. На рис. 4 показаны линии тока в проточной части сборки двух вентиляторов с присоединенными НА при производительности Q = 14 м3/с. Расчётные характеристики двух последовательно присоединённых вентиляторов с разными углами установки и наличием или отсутствием НА показаны на рис. 5.

Рис. 4 Flow lines in the flow part of the fan assembly at Q = 14 m3/s
Fig. 4 Flow lines in the flow part of the fan assembly at Q = 14 m3/s
При модульной конструкции вентиляторов возможен случай, когда вентиляторы работают с разными углами установки лопаток рабочих колес. Для случая с присоединёнными НА расчётные характеристики показаны на рис. 6, для двух вентиляторов без НА – на рис. 7.

Рис. 5 Аэродинамические характеристики двух последовательно присоединённых вентиляторов: 1 – с ВНА, угол установки лопаток 2°; 2 – без ВНА, угол установки лопаток 2°; 3 – с ВНА, угол установки лопаток 1°; 4 – без ВНА, угол установки лопаток 1°
Fig. 5 Aerodynamic characteristics of two fans connected in series: 1 – with an inlet guide vane, the blade angle of 2°; 2 – without an inlet guide vane, the blade angle of 2°; 3 – with an inlet guide vane, the blade angle of 1°; 4 – without an inlet guide vane, the blade angle of 1°

Рис. 6 Аэродинамические характеристики двух последовательно присоединённых вентиляторов с НА при отличающихся углах установки лопаток РК: 1 – угол установки лопаток первого РК – 1°; угол установки лопаток второго РК – 2°; 2 – угол установки лопаток первого РК – 2°; угол установки лопаток второго РК – 1°.
Fig. 6 Aerodynamic characteristics of two fans connected in series with a guide vane at different blade angles: 1 – The blade angle of the first impeller is 1°; of the second impeller is 2°; 2 – The blade angle of the first impeller is 2°; of the second impeller is 1°

Рис. 7 Аэродинамические характеристики двух последовательно присоединённых вентиляторов без НА при отличающихся углах установки лопаток РК: 1 – угол установки лопаток первого РК – 1°; угол установки лопаток второго РК – 2°; 2 – угол установки лопаток первого РК – 2°; угол установки лопаток второго РК – 1°.
Fig. 7 Aerodynamic characteristics of two fans connected in series without a guide vane with different blade angles of the impeller: 1 – The blade angle of the first impeller is 1°; of the second impeller is 2°; 2 – The blade angle of the first impeller is 2°; of the second impeller is 1°
Результаты и их обсуждение
Как видно из представленных на рис. 6–7 характеристик, КПД установки, состоящей из двух последовательно установленных вентиляторов с отличными друг от друга углами установки лопаток РК, значительно ниже, чем в случае с одинаковыми углами. Это объясняется несогласованностью работы лопаток при любой производительности, так как как минимум один из венцов при любой производительности работает при углах атаки, значительно отличающихся от наиболее эффективного. Расчётный КПД установок в этом случае не превышает 0,7 при любой производительности, что не позволяет характеризовать работу такой установки как эффективную. Допустимость работы такой установки должна быть проверена расчётом на аэроупругую устойчивость лопаток рабочих колес при различных значениях расхода с учётом влияния лопаточных венцов статора [8]. Из представленных характеристик также можно заключить, что большие эффективность и развиваемое давление на большей части характеристики достигаются при установке лопаток первого вентилятора на больший угол (кривые 2 на характеристиках рис. 6 и 7), хотя и в этом случае КПД остаётся небольшим. Уровень напряженно-деформированного состояния (НДС) лопаток и их частотные характеристики (собственные частоты колебаний) являются определяющими факторами безопасной работы вентилятора. Для определения допустимой области работы рабочих лопаток в программе ANSYS CFX была поставлена и решена задача о колебаниях лопатки с учётом преднапряжённого состояния (от которого зависят значения собственных частот колебаний вследствие изменения жесткости лопатки при вращении) [9]. Расчёт состоял из нескольких этапов: 1. Расчёт напряженно-деформированного состояния (НДС) лопатки при расчётной скорости вращения с помощью метода конечных элементов (МКЭ); 2. Определение частот и форм собственных колебаний лопатки с учётом её НДС; 3. Моделирование параметров потока в проточной части вентилятора в нестационарной постановке. Напряженно-деформированное состояние лопатки было определено на основе использования метода конечных элементов в ANSYS MECHANICAL [4; 10]. Основной нагрузкой, действующей на лопатку и значительно влияющей на жесткость лопатки, является центробежная нагрузка [11]. Она задаётся определением скорости вращения, равной 3000 об/мин. На рис. 8 приведено распределение эквивалентных напряжений по Мизесу [12; 13] в лопатке. Как видно из рисунка, величина максимальных напряжений составила 276 МПа, что для стальной лопатки является допустимым для высокоуглеродистой стали 40Х при запасе прочности 2 и пределе прочности 600 МПа [14].

Рис. 8 Распределение эквивалентных напряжений по Мизесу в стальной лопатке рабочего колеса при скорости вращения 3000 об/мин
Fig. 8 Distribution of equivalent stresses according to von Mises in a steel blade of the impeller at a rotation speed of 3000 rpm
В ANSYS MODAL были определены частоты и формы собственных колебаний лопатки [15]. Первая форма показана на рис. 9 и 10. Величины первых двух рассчитанных частот собственных колебаний составили 160,7 Гц для изгибной формы и 367,8 Гц – для крутильной.

Рис. 9 Первая форма изгибных колебаний лопатки с частотой 160,7 Гц
Fig. 9 The first form of bending vibrations of the blade with the frequency of 160,7 Hz

Рис. 10 Первая форма колебаний крутильных лопатки с частотой 367,8 Гц
Fig. 10 The first form of torsional oscillations of the blade with the frequency of 367,8 Hz
Простое сравнение частот собственных колебаний лопатки на их соответствие частоте вращения (50 Гц) и числу лопаток венцов статора, умноженному на частоту вращения (1000 Гц), показывает, что периодические силы с этими частотами, достаточно отстроены по частоте (свыше 15%) от собственных частот лопаток [16].
В ANSYS CFX был проведен гармонический анализ потока при работе в расчётной точке с помощью метода Profile Transformation [17], который заключается в том, что решается проблема неравного окружного шага с помощью преобразования лопаточного профиля течения. Преобразование является консервативным масштабированием профиля. Распределение величины скорости в неподвижной системе координат в вентиляторе приведено на рис. 11. С помощью гармонического анализа рассчитанных параметров потока были определены частотные составляющие, вызывающие периодическую нагрузку на лопатки вентилятора [18]. В табл. 1 приведены периодические составляющие силы и момента, действующие на лопатку.
Таблица 1 Амплитуды периодических составляющих сил и моментов, действующих на лопатку рабочего колеса
Table 1 Amplitudes of the periodic components of forces and moments acting on the impeller blade
| Частота, Гц | Амплитуда силы, действующая на лопатку в осевом направлении, Н | Амплитуда момента, изгибающего лопатку, Н-м |
|---|---|---|
| 710 | 1,8 | 0,27 |
| 1744 | 0,43 | 0,07 |
| 3101 | 0,34 | 0,05 |
Частота первой гармоники периодической составляющей нагрузок составила 710 Гц, что значительно отличается от первых двух собственных частот лопатки рабочего колеса вентилятора.
Для определения допустимости работы двух последовательно присоединённых вентиляторов с установленными лопатками рабочих колёс с различными углами была построена расчётная модель в программе ANSYS (рис. 12). Лопатки первого были установлены на 21°, второго – на 11°. На вентиляторах установлен спрямляющий аппарат, при этом направляющий отсутствовал. Расчет проведен при расходе 11 м3/с.

Рис. 11 Распределение величины скорости потока в неподвижной системе координат в проточной части вентилятора
Fig. 11 Distribution of the flow velocity in a fixed coordinate system in the flow part of the fan
С помощью гармонического анализа потока были определены частотные составляющие сил и моментов, действующих на лопатки рабочих колёс. Для лопатки второго вентилятора их характеристики показаны в табл. 2.
Таблица 2 Амплитуды периодических составляющих сил и моментов, действующих на лопатку рабочего колеса
Table 2 Amplitudes of the periodic components of forces and moments acting on the impeller blade
| Частота, Гц | Амплитуда силы, действующая на лопатку в осевом направлении, Н | Амплитуда момента, изгибающего лопатку, Н-м |
|---|---|---|
| 679 | 2,4 | 0,54 |
| 1646 | 0,63 | 0,15 |
| 2896 | 0,44 | 0,12 |

Рис. 12 Модель проточной части двух последовательно присоединённых вентиляторов
Fig. 12 Model of the flow part of two fans connected in series
Нагрузки на лопатку выросли в два раза по сравнению с работой одного вентилятора. При этом частоты периодических сил и моментов незначительно уменьшились. Таким образом, работа двух последовательно подключенных вентиляторов допустима, поскольку частоты вынуждающих сил и моментов, как и в случае отдельно работающего вентилятора, значительно отличаются от собственных частот колебаний лопатки.
Заключение
Для разработанного модульного вентилятора местного проветривания показано, что при регулировании установки, состоящей из двух последовательных соединённых вентиляторов, в случае необходимости установки лопаток на разные углы более эффективно работает установка, у которой первое рабочее колесо имеет большие значения угла установки. При этом эффективность работы установки при таком подключении значительно ниже (КПД не превышает 66%) по сравнению с работой при одинаковых углах установки лопаток. При анализе возможного резонанса лопаток от воздействия возмущающих частот установлено, что частоты вынуждающих сил и моментов значительно (более 15%) отличаются от собственных частот лопатки рабочего колеса как при последовательном подключении двух вентиляторов, так и при работе одиночного вентилятора, что дает значительную отстройку частот и делает работу вентиляторов безопасной.
Сноски
1 ГОСТ 34002–2016 Вентиляторы: Термины и классификация. https://files.stroyirt.ru/Data2/1/4293744/4283744320.pdf (дата обращения: 28.02.2025).
Список литературы
1. Ушаков К.З. (ред.). Рудничная вентиляция: cправочник. 2-е изд., перераб. и доп. М.: Недра; 1988. 440 с.
2. Попов Н.А. Разработка реверсивных осевых вентиляторов главного проветривания шахт: дис. … д-ра техн. наук. Новосибирск; 2001. 278 с.
3. Брусиловский И.В. Аэродинамические схемы и характеристики осевых вентиляторов ЦАГИ. М.: Недра; 1978. 198 с. Режим доступа: https://djvu.online/file/lHY85jxvXeJGi (дата обращения: 23.01.2025).
4. Иванов И.И., Чеповский А.Е. Программные средства обработки результатов расчетов в инженерных пакетах Ansys CFX и Abaqus для высокопроизводительных вычислительных установок. М.: Изд-во МГТУ им. Н.Э. Баумана; 2014. 193 с.
5. Московко Ю.Г. Разработка и исследование аэродинамических схем реверсивных регулируемых осевых вентиляторов. В кн.: Гиневский А. С. (ред.). Промышленная аэродинамика: сб. ст. Вып. 4: Аэродинамика лопаточных машин, каналов, струйных и отрывных течений. М.: Машиностроение, 1991. С. 240–250.
6. Брусиловский И.В. Аэродинамический расчет осевых вентиляторов. М.: Машиностроение; 1986. 283 с.
7. Хмельник С. Уравнения Навье-Стокса. LAP Lambert Academic Publishing; 2012. 112 с.
8. Лапшин К.Л. Теория турбомашин. СПб.: Изд-во СПбГТУ; 2010. 80 с. Режим доступа: https://knigogid.ru/books/1797541-teoriya-turbomashin/toread (дата обращения: 23.01.2025).
9. Красюк А.М., Косых П.В., Русский Е.Ю. Влияние возмущений воздушного потока от поршневого действия поездов на туннельные вентиляторы метрополитенов. Физико-технические проблемы разработки полезных ископаемых. 2014;(2):144–153. Krasyuk A.M., Russky E.Y., Kosykh P.V. Influence of train piston effect on subway fans. Journal of Mining Science. 2014;50(2):362–370. https://doi.org/10.1134/S1062739114020197
10. Каплун А.Б., Морозов Е.М., Олферьева М.А. ANSYS в руках инженера: практическое руководство. М.: Едиториал УРСС; 2003. 272 с. Режим доступа: https://djvu.online/file/q08xcXdYit618 (дата обращения: 23.01.2025).
11. Russky E.Yu., Lugin I.V., Kosyh P.V., Alferova E.L., Kiyanitsa L.A. Research and engineering of aerodynamics and design parameters for axial fans with the various hub/tip diamater ratios. In: 16th international multidisciplinary scientific geoconference SGEM 2016, Albena, Bulgaria, 30 June – 6 July. Albena; 2016. Vol. 2, pp. 727–734. https://doi.org/10.5593/SGEM2016/B12/S03.095
12. Красюк А.М., Лугин И.В., Косых П.В., Русский Е.Ю. Обоснование способа продления ресурса шахтных двухступенчатых осевых вентиляторов главного проветривания. Физико-технические проблемы разработки полезных ископаемых. 2019;(3):150–167. https://doi.org/10.15372/FTPRPI20190317 Krasyuk A.M., Lugin I.V., Kosykh P.V., Russky E.Y. Substantiation of life extension method for two-stage axial flow fans for main ventilation. Journal of Mining Science. 2019;55(3):478–493. https://doi.org/10.1134/S1062739119035818
13. Липовцев Ю.В., Русин М.Ю. Прикладная теория упругости. М.: Дрофа; 2008. 319 с.
14. Эшби М., Джонс Д. Конструкционные материалы [пер. с англ., ред. С.Л. Баженова]. Долгопрудный: Интеллект; 2010. 672 с.
15. Russky E.Yu., Kosykh P.V. Stress-strain behavior of discontinuous blades for axial mine fans. IOP Conference Series: Earth and Environmental Science. 2020;523:012012. https://doi.org/10.1088/1755-1315/523/1/012012
16. Герике Б.Л., Шахманов В.Н. Об одной модели механических колебаний вентилятора главного проветривания. Вестник Кузбасского государственного технического университета. 2011;(6):30–32. Режим доступа: https://vestnik.kuzstu.ru/index.php?page=article&id=2060 (дата обращения: 23.01.2025). Gericke B.L., Shakhmanov V.N. A model of mechanical vibrations of main fan ventilation. Bulletin of the Kuzbass State Technical University. 2011;(6):30–32. (In Russ.) Available at: https://vestnik.kuzstu.ru/index.php?page=article&id=2060 (accessed: 23.01.2025).
17. Samuelsson J. Rotor dynamic analysis of 3D-modeled gas turbinerotor in ANSYS. Finspеng: Linköping University; 2009. 51 p.
18. Мартыненко В.Г., Гриценко Н.И. Анализ статической и динамической прочности осевого вентилятора с учётом аэродинамических свойств потока и неоднородности температурного поля. Проблемы машиностроения. 2015;18(4-1):44–52. Martynenko V.G., Gritsenko N.I. Analysis of static and dynamic strength of the axial fan considering aerodynamic properties of the flow and nonuniformity of temperature field. Problemy Mashinostroeniya. 2015;18(4-1):44–52. (In Russ.)










