Повышение эффективности дегазации угольного пласта при его подготовке к безопасной отработке на основе использования эффекта сорбционных деформаций
К.С. Коликов1, А.И. Маневич1, 2, Н.В. Ледяев3, И.А. Комиссаров3
1 Национальный исследовательский технологический университет «МИСИС», г. Москва, Российская Федерация
2 Геофизический центр Российской академии наук, г. Москва, Российская Федерация
3 АО «СУЭК-Кузбасс», г. Кемерово, Российская Федерация
Горная Промышленность №2 / 2025 стр.92-96
Резюме: В статье рассмотрен инновационный подход к повышению эффективности дегазации угольных пластов, направленный на обеспечение безопасности горных работ в зонах проявления опасных геодинамических явлений. Предложенный способ основан на использовании эффекта сорбционных деформаций, возникающих при дегазации угля, и включает комплексные технологические операции по управлению процессами выделения метана из угольных пластов. Методика предусматривает бурение дегазационных скважин, периодическое их закрытие и открытие, а также использование механизма автопневмообработки пласта. Это позволяет создать зоны повышенной газопроницаемости вокруг скважин за счет развития микротрещиноватости, вызванной сорбционными деформациями, что приводит к увеличению дебитов метана. Проведённый анализ показывает, что предложенный способ снижает материальные затраты, обеспечивает стабильное повышение дебита метана из скважин в несколько раз и способствует релаксации аномально высоких напряжений в угольных пластах. Экспериментальные испытания на угольных шахтах Кузбасса и Карагандинского угольного бассейна подтвердили эффективность технологии, что делает её перспективной для использования при разработке выбросоопасных угольных пластов. Результаты исследования могут быть применены для повышения технико-экономических показателей разработки угольных месторождений.
Ключевые слова: угольный пласт, метан, сорбция, усадка, механическое напряжение, газопроницаемость угольного пласта, безопасность горных работ
Для цитирования: Коликов К.С., Маневич А.И., Ледяев Н.В., Комиссаров И.А. Повышение эффективности дегазации угольного пласта при его подготовке к безопасной отработке на основе использования эффекта сорбционных деформаций. Горная промышленность. 2025;(2):92–96. https://doi.org/10.30686/1609-9192-2025-2-92-96
Информация о статье
Поступила в редакцию: 19.02.2025
Поступила после рецензирования: 03.03.2025
Принята к публикации: 10.03.2025
Информация об авторах
Коликов Константин Сергеевич – доктор технических наук, профессор, заведующий кафедрой безопасности и экологии горного производства, Национальный исследовательский технологический университет «МИСИС», г. Москва, Российская Федерация; e-mail: Адрес электронной почты защищен от спам-ботов. Для просмотра адреса в вашем браузере должен быть включен Javascript.
Маневич Александр Ильич – научный сотрудник лаборатории геодинамики, Геофизический центр Российской академии наук; старший преподаватель кафедры безопасности и экологии горного производства, Национальный исследовательский технологический университет «МИСИС», г. Москва, Российская Федерация; https://orcid.org/0000-0001-7486-6104; e-mail: Адрес электронной почты защищен от спам-ботов. Для просмотра адреса в вашем браузере должен быть включен Javascript.
Ледяев Николай Владимирович – начальник управления противоаварийной устойчивости предприятий, АО «СУЭК-Кузбасс», г. Кемерово, Российская Федерация
Комиссаров Игорь Анатольевич – начальник отдела ВГК и контроля динамических явлений АО «СУЭК-Кузбасс», г. Кемерово, Российская Федерация
Введение
Гидрорасчленение угольного пласта (ГРП) – одна из наиболее перспективных технологий обеспечения безопасности горных работ в зонах проявления опасных геодинамических явлений [1–3]. ГРП предусматривает последовательные операции – бурение поверхностных скважин до угольного пласта, обсадку скважин, нагнетание воды в угольный пласт для обеспечения его гидравлического расчленения и последующее удаление воды, поступающей из пласта в скважину [1]. Таким образом, в зоне гидравлического расчленения пласта формируются зоны повышенной трещиноватости, которые способствуют развитию магистральных каналов повышенной проницаемости [3–5]. После осушения пласта в скважину поступает угольный метан, который извлекается на земную поверхность. В качестве дополнительных мероприятий применяется предварительная и пластовая дегазация скважинами, пробуренными из горных выработок.
В известных технологиях дегазации угольных пластов имеет место сравнительно невысокий дебит метана из скважин [6]. Поэтому удовлетворительные результаты заблаговременной дегазации достигаются через 3–5 и более лет при установившемся среднем дебите метана из скважины до 1,5 м3/мин и распространении зоны повышенной проницаемости по угольному пласту от скважины до 150 м. При предварительной дегазации, осуществляемой из подготовительных выработок, длительность извлечения метана при дебитах порядка 50 л/мин должна составлять не менее года, что в условиях высоких скоростей подвигания очистного забоя весьма трудно реализовать.
Широкое распространение способов дегазации угольных пластов сдерживается низкими дебитами метана и высокими материальными затратами на реализацию. Отличием предлагаемого способа является простота реализации и оперативность при невысоких материальных затратах. Физическая основа способа заложена в использовании механизма сорбционных деформаций, возникающих при дегазации угольных пластов.
Методология
При описании процесса сорбционных деформаций полагается, что в процессе дегазации угля происходит усадка его минерального скелета, вследствие заполнения освободившейся матрицы угля молекулами углерода [7]. При сорбционном расширении (разбухании) угля происходит обратный процесс замещения углерода метаном. Следовательно, объемная деформация угля в процессе сорбционной усадки или расширения составляет [8]:
ε = (G0 – G) · ρ1 · (μ1 / μ2) (1)
где ε – объемная деформация угля в процессе сорбционной усадки или расширения; G0 – начальная газоносность угля (объем метана при нормальных условиях, отнесенный к массе угля), м3/кг; G – текущая газоносность угля, м3/кг; ρ1 – плотность метана при нормальных условиях, кг/м3; μ1 и μ2 – молярная масса метана и угля соответственно, кг/моль.
Начальную и текущую газоносность угля можно определить из выражения изотермы Ленгмора:
G0 = (a · b · P0) / (1 + b · P0) · (1 / ρ1 · ρ2) (2)
G = (a · b · P) / (1 + b · P) · (1 / (ρ1 · ρ2)) (3)
где a – сорбционная емкость в уравнении Ленгмо)ра, кг/м3; b – коэффициент в изотерме Ленгмора, Па-1; P0 и P – начальное и текущее значения давления метана, Па; ρ2 – объемная масса угля, кг/м3.
Следовательно, объемная деформация при усадке (разбухании) угля определяется как:
ε = [ (a · b · P0) / (1 + b · P0) – (a · b · P) / (1 + b · P) ] · (1 / ρ2) · (μ1 / μ2) (4)
Коэффициент сорбционной усадки можно выразить в виде дифференциала объемной деформации угля:
α = – dε / dP = (a · b) / (1 + b · P)2 · (1 / ρ2) · (μ1 / μ2) (5)
где α – коэффициент сорбционной усадки угля, Па-1.
Величина механического напряжения в угле, возникающего при сорбционной усадке в отсутствие объемных деформаций, будет определяться выражением:
σ = E0 · ε / [3(1 – 2γ)] (6)
σ – механическое напряжение, Па; E0 – модуль деформации угля, Па; γ – коэффициент Пуассона.
Результаты
Выполним оценочный расчет механических напряжений по формуле (6) при следующих условиях: a = 25 кг/м3, b = 0.9∙10-6 Па-1; μ1 = 16 г/моль; μ2 = 12 г/моль; ρ1 = 0.714 кг/м3; E0 = 2.5∙109 Па; ν = 0.22. В случае понижения пластового давления метана от величины P0 = 1.4 МПа (G0=13.94 м3/т) до величины P = 1.3 МПа (G=13.48 м3/т) по формуле (4) происходит объемная усадка угля на величину ε = 0.471∙10-3. В рассмотренном интервале давлений по формуле (5) коэффициент объемной сорбционной усадки α=4.7·10-3 МПа-1.
С целью анализа описанного механизма сорбционных деформаций на рис. 1 представлена расчетная зависимость по формуле (5) коэффициента сорбционной усадки от пластового давления метана. Отметим, что расчётное значение коэффициента сорбционной усадки удовлетворительно соответствует известным результатам [2; 8; 9], где в ограниченном диапазоне давлений метана экспериментально установлено, что объемный коэффициент сорбционной усадки выбросоопасных углей находится в пределах (4,5–6)×10-3 МПа-1. Установленная нами зависимость отражает обратную зависимость коэффициента сорбционной усадки от пластового давления метана. При этом наиболее интенсивно сорбционная усадка нарастает при небольших пластовых давлениях. Следовательно, на практике эффект усадки угля при дегазации должен проявляться вблизи свободной поверхности – вокруг дегазационной скважины, т.е. там, где пластовое давление метана приближается к атмосферному.

Рис. 1. Зависимость коэффициента сорбционной усадки угля от пластового давления метана
Fig. 1. Dependence of the coal sorption shrinkage coefficient on the methane formation pressure
Величине усадки при заданном изменении давления на величину 0,1 МПа соответствует по формуле (6) механическое напряжение 0,7 МПа. Таким образом, можно утверждать, что изменение пластового давления метана в условиях всестороннего сжатия приводит к действию механических напряжений, существенно более высоких. При реализации этого физического механизма открывается эффективный путь управления породным массивом методом пластовой дегазации. Так, например, понижение пластового давления на 0,5 МПа способно вызвать при усадке угля предельные по прочности растягивающие напряжения, которые приведут к росту микро- и макротрещиноватости, и, соответственно, к релаксации экстремальных напряжений, а также к повышению газопроницаемости угольного пласта.
Решение задачи повышения эффективности дегазации пласта и релаксации природных геомеханических напряжений предлагается осуществлять следующими операциями. После начала процесса дегазации угольного пласта необходимо осуществлять режимное закрытие устья скважины (автоинтеллектуальное воздействие). Остановка откачки газа происходит в течение времени, пока не будет стабилизирован режим давления газа в скважине. Период откачки газа определяется временем стабильного дебита газа. Экспериментально установлено, что сорбционный эффект усадки угольного пласта проявляется при длительности закрытия пластовых скважин при предварительной (текущей) дегазации порядка 1–3 сут, скважин заблаговременной дегазации – порядка 3–30 сут.
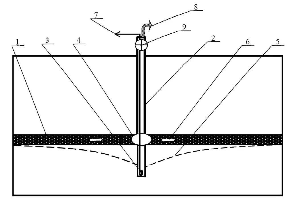
На рис. 2 представлена технологическая схема реализации способа заблаговременной дегазации угольного пласта. В угольный пласт бурится вертикальная дегазационная скважина. На ее забое ниже подошвы пласта размещается насос. В месте контакта угольного пласта и скважины создается технологическая каверна, т.е. выполняется гидрорасчленение пласта. В процессе осушения пласта после ГРП в угольном массиве формируется депрессионная кривая. В процессе дегазации угольный метан мигрирует в радиальном направлении к скважине. Через технологическую скважину насосом откачивается рабочая жидкость и по мере осушения вмещающего массива в скважину поступает метан. На устье скважины предусмотрены устройство запорной арматуры для осуществления автоинтеллектуального воздействия (открытия и закрытия скважины), расходомер для измерения дебита метана и манометр для измерения давления газа.

Рис. 2. Способ дегазации угольного пласта: 1 – угольный пласт; 2 – дегазационная скважина; 3 – насос; 4 – технологическая каверна; 5 – депрессионная кривая; 6 – радиальное направление; 7 – вода; 8 – метан; 9 – запорная арматура
Физической основой процесса нарастания дебитов метана являются сорбционные деформации угля: при десорбции метана происходит усадка угля, а при сорбции – «набухание» и расширение. Проявление аналогичного эффекта повышения дебитов угольного метана с течением времени хорошо известно и описано в работах [1; 2]. Данный эффект можно усилить и использовать более эффективно путем периодического открытия и закрытия устья дегазационных скважин. При каждом очередном перекрытии устья скважины происходит нарастание давления метана в угольном пласте вокруг ствола скважины, что приводит к расширению угольных матриц в результате объемной сорбции метана. При сорбционном расширении угля появляются дополнительные механические напряжения, которые в комбинации с напряжениями горного давления приведут к росту микротрещиноватости в угольном пласте и релаксации аномальных напряжений, что особенно актуально для выбросоопасных пластов [10–12].
Обсуждение
Ожидаемый эффект увеличения дебита скважины также базируется на процессе активного воздействия на газонасыщенный угольный пласт по механизму реверсивного автониевомовоздействия на пласт. Сущность этого механизма заключается в следующем. После закрытия скважины притекающий из массива газ создает избыточное давление, которое монотонно поднимается до величины пластового давления газа в неразгруженном от горного давления массиве. В зоне дезинтеграции пласта в процессе гидрорасчленения или иного активного воздействия возникают новые трещины и фильтрующие поры, в общем случае не связанные между собой в единую проводящую систему, ориентированную к скважине. Это объясняется тем, что образование новых каналов связано с фактором изменения напряженного состояния массива вокруг раскрываемых трещин, а не с процессом проникновения в обрабатываемый массив текучего агента. В процессе повышения давления при закрытой скважине метан фильтруется в зоне, примыкающей к раскрытым в процессе расчленения трещинам, проникая в каналы в зоне дезинтеграции и связывая их в единую систему проницаемости. Вновь созданная дополнительная система фильтрующих пор и трещин формирует в конечном итоге повышенный дебит пластовой скважины.
Обоснованный в настоящей статье механизм повышения эффективности пластовой дегазации был экспериментально исследован в шахтных условиях. На шахте им. С. М. Кирова ОАО «СУЭК–Кузбасс» технология АПВ была реализована на этапе предварительной дегазации на скважине диаметром 76 мм, длиной 120 м. После стабилизации давления газа в скважине она открывалась и подсоединялась к магистральному газопроводу, проложенному в подготовительной выработке. Производились измерения дебита метана. При падении дебита до уровня среднего в соседних скважинах исследуемая скважина закрывалась и процесс восстановления давления повторялся. Затем скважина вновь плавно открывалась, и производился замер дебита скважины после АПВ в последующем цикле.
На начальный момент через один сутки после открытия экспериментальной скважины замер дебита газа ротаметром показал величину дебита – 25 л/мин. Замер дебита газа в течение последующих двух месяцев показал практически то же самое значение, что свидетельствует о высокой эффективности описанного режима интенсификации выделения газа из скважины.
На данном участке подземной пластовой дегазации расстояние между дегазационными скважинами составляло 15 м. Зону сравнения составили 5 скважин, функционирующих по извлечению метана более одного года, 5 скважин – около четырех месяцев и 5 скважин практически свежих (менее одного месяца). На 12 скважинах дебит не превышал 5 л/мин. Таким образом, в процессе апробации технологии после периодического открытия дегазационной скважины и сброса давления было установлено, что дебит метана в пять и более раз превышает дебиты соседних скважин.
Выводы
Таким образом, установлено, что при закрытии скважин при росте пластового давления реализуется механизм автониевомобработки угольного пласта вокруг скважины, что существенно повышает газопроницаемость угольного пласта и, как следствие, увеличивает дебит скважин. Циклическое закрытие и открытие пластовых скважин является важной технологической операцией, являющейся основой новой технологии интенсификации притоков газа из пластовых скважин за счет внутренней энергии газонасыщенного массива угля.
Под авторским надзором специалистов МГТУ аналогичные работы по гидрорасчленению и последующей пневмообработке особо выбросоопасного пласта ДБ были проведены в 2000–2013 гг. в Карагандинском угольном бассейне на полях шахт им. Ленина и «Казахстанская». В угольные пласты через скважину с земной поверхности на глубину 350–550 м закачивалось от 100 до 400 тыс. м³ воздуха, который выдерживался в пласте в течение до одного месяца, а затем плавно стравливался. На ряде скважин (шахта им. Ленина – скважины ГРП №11, 15, 16 и шахта «Казахстанская» – скважины ГРП №27, 30), где был реализован описываемый способ интенсификации, установлено увеличение дебита скважин в 1,5–2 раза, что подтверждает перспективность данного направления повышения эффективности пластовой дегазации с целью повышения нагрузок на очистной забой [6] для повышения технико-экономических показателей разработки угольных пластов.
Таким образом, разработанный комплексный способ усовершенствованной пластовой дегазации позволяет эффективно и оперативно осуществлять технологические мероприятия, направленные на снижение вероятности проявления опасных геодинамических явлений при разработке газоносных угольных пластов с высокими нагрузками на очистной забой.
Список литературы
1. Пучков Л.А., Сластунов С.В., Коликов К.С. Извлечение метана из угольных пластов. М. МГГУ; 2002. 383 с.
2. Большинский М.И., Лысиков Л.А., Каплюхин А.А. Газодинамические явления в шахтах. Севастополь: Вебер; 2003. 284 с. Режим доступа: https://bergmaster.narod.ru/techno-lit/2003_gdj-v-schahtah.pdf (дата обращения: 12.02.2025).
3. Сердюков С.В., Курленя М.В., Рыбалкин Л.А., Шилова Т.В. Влияние гидроразрыва угля на фильтрационное сопротивление зоны дренирования дегазационной скважины. Физико-технические проблемы разработки полезных ископаемых. 2019;(2):3–13. https://doi.org/10.15372/FTPRPI20190201 Serdyukov S.V., Kurlenya M.V., Rybalkin L.A., Shilova T.V. Hydraulic fracturing effect on filtration resistance in gas drainage hole area in coal. Journal of Mining Science. 2019;55(2):175–184. https://doi.org/10.1134/S1062739119025432
4. Palmer I. Permeability changes in CBM reservoir during production: an update and implementations for CO2 injection. In: Proceedings of the 2004 International Coalbed Methane Symposium, Tuscaloosa, Alabama, 3–7 May 2004. Alabama: The University of Alabama, 2004, paper 0403. Available at: https://www.adv-res.com/Coal-Seq_Consortium/ECBM_ Sequestration_Knowledge_Base/CBM%20Symposium%202004/0403.pdf (accessed: 27.12.2024).
5. Palmer I., Mavor M., Gunter B. Permeability changes in coal seams during production and injection. In: Proceedings of the 2007 International Coalbed Methane Symposium, Tuscaloosa, Alabama, 23–24 May, 2007. Curran Associates; 2007, paper 0713.
6. Сластунов С.В., Каркашадзе Г.Г., Коликов К.С., Ермак Г.П. Методика расчета допустимой нагрузки на очистной угольный забой по газовому фактору. Физико-технические проблемы разработки полезных ископаемых. 2013;(6):53–59. Режим доступа: https://www.sibran.ru/journals/issue.php?ID=154647&ARTICLE_ID=154675 (дата обращения: 12.02.2025). Slastunov S.V., Karkashadze G.G., Kolikov K.S., Ermak G.P. Calculation procedure for permissible coal breakage face output by gas factor. Journal of Mining Science. 2013;49(6):888–893. https://doi.org/10.1134/S1062739149060063
7. Gash B.W., Volz R.F., Potter G., Corgan J.M. The effects of cleat orientation and confining pressure on cleat porosity, permeability, and relative permeability. In: Proceedings of the 1992 International Coalbed Methane Symposium. Alabama; 1992, paper 9224.
8. Pan Z., Connell L.D. Modelling permeability for coal reservoirs: A review of analytical models and testing data. International Journal of Coal Geology. 2012;92:1–44. https://doi.org/10.1016/j.coal.2011.12.009
9. Wang X., Qi X., Ma H., Li S. Experimental investigation on the influence of temperature on coal and gas outbursts. Processes. 2023;11(6):1687. https://doi.org/10.3390/pr11061687
10. Акматов Д.Ж., Евлоев Х.Ю., Меллер А.Д., Манукян Т.А., Чадин В.Н. Методика численного моделирования полей напряжений в районе размещения угольных шахт. Горная промышленность. 2023;(1):39–44. https://doi.org/10.30686/1609-9192-2023-1-39-44 Akmatov D.Zh., Evloev H.Y., Meller A.D., Manukyan T.A., Chadin V.N. Methodology for numerical modeling of stress fields in vicinities of coal mines. Russian Mining Industry. 2023;(1):39–44. (In Russ.) https://doi.org/10.30686/1609-9192-2023-1-39-44
11. Manevich A.I., Kolikov K.S., Egorova E.A. Geoecological aspects of stress-strain state modeling results of Leninsky coal deposit (Kuzbass, Russia). Russian Journal of Earth Science. 2019;19:ES4002. https://doi.org/10.2205/2019ES000663
12. Shan P., Li W., Lai X., Zhang S., Chen X., Wu X. Research on the response mechanism of coal rock mass under stress and pressure. Materials. 2023;16(8):3235. https://doi.org/10.3390/ma16083235










