Исследование процесса переноса геотермального тепла с помощью геотермального термосифона с естественной циркуляцией
В.А. Лебедев, Е.А. Зайцева, О.Л. Горина, А.Н. Федоткина
Санкт-Петербургский горный университет императрицы Екатерины II, г. Санкт-Петербург, Российская Федерация
Горная Промышленность №2 / 2025 стр.114-122
Резюме: Для реализации целей устойчивого развития современного общества и увеличения доли использования энергоресурсов в энергетическом балансе Российской Федерации с минимальным антропогенным воздействием на окружающую среду необходимо активно развивать технологии, позволяющие использовать «экологически нейтральные» возобновляемые источники энергии. Одним из таких энергоресурсов является геотермальная энергия Земли – энергия естественных тепловых коллекторов, образующихся в основном в результате активности литосферных плит в земной коре. В настоящее время геотермальная энергетика активно развивается в большинстве стран в промышленности, энергетике, сельском хозяйстве. Выбор метода извлечения напрямую зависит от глубины расположения теплового коллектора. Существуют технологии извлечения тепла с глубины более 3 км, такие методы сопряжены с высокими инвестиционными рисками и капитальными затратами. В настоящее время широкое распространение получили технологии трансфера теплоты с помощью приповерхностных систем. Одной из перспективных является технология трансфера теплоты с помощью геотермального термосифона с естественной циркуляцией рабочего тела. Проведен анализ функционирования геотермального термосифона, в основе работы которого лежит явление свободной конвенции рабочего тела, с декомпозицией стадий его функционирования. При поиске вариантов повышения эффективности таких систем спроектирована экспериментальная установка для исследования закономерностей процесса теплопереноса в зависимости от геометрических параметров термосифона и его конструктивных особенностей. Исследован процесса переноса тепла в зависимости от высоты экспериментальной модели и введения конструктивного разделителя восходящих и нисходящих потоков. Определено, что с увеличением температуры грунтового массива количество перенесенного тепла повышается с наличием разделителя сред в среднем на 25%.
Ключевые слова: энергетика, геотермальная энергия, возобновляемые источники энергии, термосифон с естественной циркуляцией, альтернативные источники энергии
Благодарности: Исследование выполнено в рамках государственного задания Министерства науки и высшего образования Российской Федерации «Фундаментальные междисциплинарные исследования недр Земли и процессов комплексного освоения георесурсов» (FSRW-2023-0002).
Для цитирования: Лебедев В.А., Зайцева Е.А., Горина О.Л., Федоткина А.Н. Исследование процесса переноса геотермального тепла с помощью геотермального термосифона с естественной циркуляцией. Горная промышленность. 2025;(2):114– 122. https://doi.org/10.30686/1609-9192-2025-2-114-122
Информация о статье
Поступила в редакцию: 24.01.2025
Поступила после рецензирования: 03.03.2025
Принята к публикации: 11.03.2025
Информация об авторах
Владимир Александрович Лебедев – кандидат технических наук, профессор кафедры теплотехники и теплоэнергетики, Санкт-Петербургский горный университет императрицы Екатерины II, г. Санкт-Петербург, Российская Федерация; e-mail: Адрес электронной почты защищен от спам-ботов. Для просмотра адреса в вашем браузере должен быть включен Javascript.
Екатерина Александровна Зайцева – кандидат технических наук, ассистент кафедры теплотехники и теплоэнергетики, Санкт-Петербургский горный университет императрицы Екатерины II, г. Санкт-Петербург, Российская Федерация; e-mail: Адрес электронной почты защищен от спам-ботов. Для просмотра адреса в вашем браузере должен быть включен Javascript.
Ольга Леонидовна Горина – аспирант кафедры теплотехники и теплоэнергетики, Санкт-Петербургский горный университет императрицы Екатерины II, г. Санкт-Петербург, Российская Федерация; e-mail: Адрес электронной почты защищен от спам-ботов. Для просмотра адреса в вашем браузере должен быть включен Javascript.
Анастасия Николаевна Федоткина – аспирант кафедры теплотехники и теплоэнергетики, Санкт-Петербургский горный университет императрицы Екатерины II, г. Санкт-Петербург, Российская Федерация; e-mail: Адрес электронной почты защищен от спам-ботов. Для просмотра адреса в вашем браузере должен быть включен Javascript..
Введение
В условиях глобальных социальных, экономических и экологических вызовов реализация Целей устойчивого развития (Sustainable Development Goals) приобретает особую важность и охватывает нормативные аспекты защиты окружающей среды, включая углеродное регулирование, управление отходами и сокращение вредных выбросов [1; 2].
Процессы генерации электроэнергии из ископаемых топлив связаны с их сжиганием, что приводит к выбросам в атмосферу и оказывает значительное негативное воздействие на окружающую среду [3–5].
Для снижения углеродного следа и борьбы с изменениями климата необходимо активизировать внедрение альтернативных источников энергии, включая увеличение доли использования геотермальной энергии в энергетическом балансе России [6]. Использование природного тепла Земли позволяет применять тепловую энергию в различных отраслях1 [7; 8].
С увеличением глубины в земной коре температура горных пород возрастает в соответствии с геотермальным градиентом. Обычно в районах с высокой тектонической и неотектонической активностью градиенты имеют высокие значения, тогда как на древних платформах и в областях с толстыми слоями осадочных пород они, как правило, низкие [6; 9].
В основе классификации видов геотермальной энергии лежит глубина залегания области с высоким температурным режимом. Существует приповерхностное тепло, область которого располагается на глубине менее 500 м от земной поверхности, и глубинное тепло – на глубине более 500 м2 [10].
В настоящее время существует множество технологий по извлечению глубинной теплоты Земли. Одним из перспективных направлений является разработка крупных резервуаров с множеством трещин, которые формируются в результате стимулирования естественных дефектов в горной породе – проекты усовершенствованных геотермальных систем (EGS). Технологии EGS представляют собой метод получения тепловой энергии из земной коры посредством пропускания закачиваемой жидкости через зону повышенной проницаемости в горячих скальных породах на большой глубине [11]. К основным технологическим требованиям при применении систем EGS относят глубину извлечения геотермального тепла более 3 км, при этом температура области отбора должна быть более 250 °C, расход теплоносителя в процессе функционирования должен составлять 50–100 кг/с, расстояние между добычной и нагнетательной скважиной – 0,5–2 км, а объем резервуара – 0,1–0,3 км4 [12; 13].
Ввиду основных технологических требований для применения систем типа EGS можно выделить их основные недостатки:
- Высокие капитальные затраты, связанные с глубиной бурения геоскважин (экспоненциальный рост с глубиной): 10 км – 1–2 млрд руб., более 60% от общих капитальных затрат;
- Сложность прогнозирования жизненного цикла геоскважин;
- Создание подземного резервуара с достаточной проницаемостью [14–16].
Широкое распространение для извлечения приповерхностного тепла получили технологии, в основе которых лежит применение тепловых насосов. Принцип функционирования тепловых насосов заключается в принудительной циркуляции теплоносителя из области с высоким температурным режимом в область с низким температурным режимом для последующего использования. Известны приповерхностные геотермальные системы, суть которых заключается в создании подземного теплообменника [12–14].
К основным недостаткам таких систем относятся высокая зависимость полезной работы оборудования от геотермальной ступени региона применения и необходимость в использовании вспомогательных средств для возникновения циркуляции теплоносителя внутри системы [15; 17].
Перспективным направлением является применение термосифонных установок с естественной циркуляцией рабочего тела для приповерхностных геотермальных систем. При их применении отсутствует необходимость во вспомогательном оборудовании, система способна функционировать с одной геоскважиной. В ходе исследования установлено, что процессы трансфера теплоты с помощью геотермальных термосифонов при отборе теплоты из грунтового массива проработаны недостаточно и требуют проведения дополнительных теоретических и экспериментальных исследований [14]. Поэтому целью статы являются анализ функционирования геотермальных термосифонов с естественной циркуляцией рабочего тела при трансфере теплоты из зоны с высоким температурным режимом в область с низким температурным режимом и установление закономерностей интенсивности теплопереноса в зависимости от геометрических параметров оборудования и его конструктивных особенностей.
Методика исследования
Работа геотермального термосифона включает несколько этапов: нагрев рабочего вещества в области с высокой температурой (кондуктивный теплообмен между горными породами и термосифоном); транспортировка рабочего тела в область с более низкой температурой (конвективный теплообмен); передача тепла рабочего вещества в устройство для накопления тепла (кондуктивный теплообмен между термосифоном и теплоаккумулирующим оборудованием) [18; 19].
Основной элемент геотермальной установки представляет собой трубку, установленную в скважине, которая находится в бесконечном непроницаемом массиве горных пород. Условия её работы зависят от теплофизических характеристик пород и параметров окружающей среды на поверхности в зоне, где происходит отбор тепла [20].
Процесс теплообмена осуществляется во время движения теплоносителя по трубке. При этом тепловое сопротивление стенок трубы можно считать незначительным, так как скважина окружена практически неограниченным массивом пород, теплообмен между этим массивом и потоком теплоносителя, движущимся по трубке, является нестационарным, с уменьшением интенсивности теплопередачи по мере подъема рабочего тела.
Механизм передачи тепла в геотермальном термосифоне основан на конвективном теплообмене, который сочетает в себе конвекцию и теплопроводность [17; 21].
Плотность теплового потока в процессе конвективного теплообмена вычисляется с помощью следующей формулы:
(1)
где qктo – плотность теплового потока при конвективном теплообмене, Вт/м2; qконд – плотность теплового потока при кондуктивном (за счет теплопроводности) теплообмене в текучей среде, Вт/м2; qконв – плотность теплового потока за счет конвекции текучей среды (флюида), Вт/м2; λf – коэффициент теплопроводности флюида, Вт/м·°С; ∇T – градиент температурного поля флюида, °C/м; ρ – плотность флюида, кг/м3; w – скорость движения флюида, м/с; h – удельная энтальпия флюида, Дж/кг.
Было выявлено, что на процесс конвективного теплообмена оказывают влияние не только температурные характеристики текучей среды, но и скорость движения флюида.
Геотермальные термосифоны с естественной циркуляцией работают на основе свободной конвекции, при которой движение жидкости происходит без внешнего воздействия, а обусловлено разницей плотностей в различных участках среды, возникающей из-за изменения температуры. Неровное распределение температуры создает изменяющееся поле плотности, что приводит к перемещению масс с различной плотностью вдоль термосифона [22–24].
При расчете конвективного теплообмена используют три параметра: поле температуры, поле скорости и поле давления. Аналитическое решение системы дифференциальных уравнений конвективного теплообмена с соответствующими условиями однозначности в общем случае не получено, поэтому в данной работе используются методы инженерного расчета [25–27].
Инженерные методы вычислений основываются на данных, полученных в ходе лабораторных или промышленных экспериментов, а также на теории аналогии физических процессов, которая опирается на систему дифференциальных уравнений, описывающих конвективный теплообмен.
Количество перенесенного тепла определяется по формуле:
Q = αFΔt = αF(tf - tw), (2)
где α – коэффициент теплоотдачи, Вт/м²·К; F – поверхность теплообмена, м²; Δt – температурный напор, °С; tf – средняя температура рабочего тела, °С; tw – средняя температура стенки термосифона, °С.
Одной из основных задач при анализе конвективного теплообмена является вычисление коэффициента теплоотдачи в определенных условиях. Это обусловлено тем, что аналитический расчет этого коэффициента невозможен из-за его зависимости от множества факторов, включая параметры процесса, размеры оборудования и граничные условия. Поэтому коэффициент теплоотдачи определяется с помощью эмпирических формул в критериальной форме, на основе принципов теории подобия [14; 28].
Для конвективного теплообмена используют следующие пять чисел подобия: число Рейнольдса Re, число Прандтля Pr, число Нусесльта Nu, число Грастофа Gr и число Эйлера Eu [8; 29].
При проектировании теплообменных аппаратов необходимо определить два параметра: коэффициент теплоотдачи α и перепад давления Δp. Они входят в числа Нусеель- та и Эйлера, поэтому это определяемые числа подобия, а числа Рейнольдса, Грастофа и Прандтля – определяющие. Таким образом, при исследовании процесса транс- ферта теплоты с помощью геотермальных термосифонов с естественной циркуляцией рабочего тела необходимо установление двух зависимостей:
Nu = f1(Re, Pr, Gr); Eu = f2(Re, Pr, Gr).
Общее уравнение подобия для конвективного теплооб- мена имеет вид:
Nu = cRenPrmGrd(Prf/Pr2)0.25, (3)
где коэффициенты c, n, m, d определяются экспериментальными исследованиями, множитель (Prf/Prw)0.25 учитывает направление потока, при этом Prf – число Прандтля для жидкости при ее температуре; Pr2 – число Прандтля для жидкости при температуре стенки.
Число Грастофа характеризует интенсивность свободного конвективного теплообмена и определяется уравнением:
Gr = gβl3Δt / ν2, (4)
где g – ускорение свободного падения, на поверхности Земли g = 9,81 м/с2; l – определяющий характерный линейный размер поверхности теплообмена, м; Δt – разница температур между температурой поверхности теплообмена и температурой теплоносителя, °С; ν – коэффициент кинематической вязкости, м2/с; β – температурный коэффициент объёмного расширения теплоносителя, К-1 [19; 20].
Из анализа зависимостей (3) и (4) следует, что для исследования процесса интенсивности теплопереноса в геотермальных термосифонах с естественной циркуляцией рабочего тела в зависимости от его геометрических параметров и конструктивных особенностей определяющим показателем является число Грастофа [30; 31].
На основе экспериментальных данных необходимо произвести расчет числа Грастофа и коэффициента теплоотдачи при ламинарном течении в экспериментальной установке с учетом естественной конвекции [32; 33]. При величине комплекса GrPr больше 8∙105 расчет коэффициента теплоотдачи необходимо проводить с учетом влияния естественной конвекции в потоке жидкости по формуле:
Nuж = 0,15Reж0,33Prж0,43Grж0,1(Prж/Prс)0,25·εL. (5)
На основе анализа принципа функционирования геотермального термосифона разработана экспериментальная модель с целью установления закономерностей в процессе тепломассопереноса в термосифоне с естественной циркуляцией в зависимости от высоты установки и введения конструктивного разделения потоков рабочего тела внутри системы.
Описание экспериментальной модели.
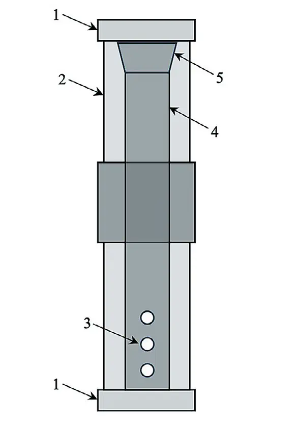
Экспериментальная модель состоит из стальных трубных секций диаметром 75 мм, которые соединяются переходниками [14]. Высота каждой секции составляет 500 мм. В нижней и верхней части установки герметично закреплены концевые крышки. Внутри внешних секций коаксиально установлен внутренний разделитель сред, состоящий из стальных трубных секций диаметром 50 мм. Наружная поверхность внутренних секций имеет теплоизоляционный слой для препятствования передаче тепла между потоками. На верхней секции разделителя сред установлен элемент с воронкой для направления потока из зоны с пониженным температурным потенциалом в зону с повышенным через выполненные отверстия на нижней части секции. Рабочей средой является проточная вода, которая заполняет весь объем термосифона (рис. 1).
![Рис. 1 Экспериментальная установка – термосифон с естественной циркуляцией: 1 – концевая крышка; 2 – внешняя секция; 3 – отверстие в нижней части разделителя сред; 4 – разделитель сред; 5 – воронка [Составлено авторами] Fig. 1 Experimental installation – thermosyphon with natural circulation: 1 – end cap; 2 – outer section; 3 – hole in the bottom of the media separator; 4 – media separator; 5 – funnel [Compiled by the authors]](/images/2025/02_2025/114_1.webp)
Рис. 1 Экспериментальная установка – термосифон с естественной циркуляцией: 1 – концевая крышка; 2 – внешняя секция; 3 – отверстие в нижней части разделителя сред; 4 – разделитель сред; 5 – воронка [Составлено авторами]
Fig. 1 Experimental installation – thermosyphon with natural circulation: 1 – end cap; 2 – outer section; 3 – hole in the bottom of the media separator; 4 – media separator; 5 – funnel [Compiled by the authors]
В экспериментальной установке выделены три тепловые зоны.
Зона 1 – зона повышенного температурного потенциала, значение температуры соответствует температуре в области горных пород. В этой зоне происходит процесс отбора тепла из модели грунтового массива, который представляет речным песком с плотностью 1600 кг/м³ и коэффициентом теплопроводности 0,3 Вт/м·°С. Модель грунтового массива располагалась в емкости объемом 5 л. Емкость помещалась в таз большего объема, который заполнен водой, где поддерживалась температура с помощью погрузкового спирального кипятильника Aquabeam мощностью 500 Вт. Эксперимент проводился при поддержании температуры в предполагаемых горных породах для четырех температурных режимов: 40, 50, 60 и 70 °С.
Зона 2 – зона активного тепломассопереноса внутри экспериментальной модели.
Зона 3 – зона пониженного температурного потенциала, в которой искусственно происходит процесс понижения температуры с помощью сухого льда.
В обозначенных зонах установлены цифровые термометры с диапазоном измерения от −50 до 100 °С. В зонах 2 и 3 место установки датчиков загерметизировано с помощью силиконового универсального герметика Kudo.
Разность значений температур в этих зонах определяет интенсивность процесса транспортирования тепла с помощью термосифона и, как следствие, эффективность функционирования экспериментальной модели [34]. Поэтому в установившихся режимах в зоне 2 и 3 температура теплоносителя должна оставаться постоянной (рис. 2).
![Рис. 2 Схема экспериментальной установки: 1 – термосифон с естественной циркуляцией; 2 – цифровые термометры; 3 – емкость с речным песком; 4 – емкость с подогреваемой водой; 5 – погружной спиральный кипятильник; 6 – емкость с сухим льдом; зона 1 – зона повышенного температурного потенциала; зона 2 – зона активного тепломассопереноса термосифона экспериментальной установки; зона 3 – зона пониженного температурного потенциала; Нт – высота экспериментальной установки (термосифона); Hc1 – высота одной секции экспериментальной установки [Составлено авторами] Fig. 2 Experimental setup scheme: 1 – natural thermosyphon; 2 – digital thermometer; 3 – container with river sand; 4 – container with heated water; 5 – submersible spiral boiler; 6 – container with dry ice; зона 1 – zone of increased temperature potential; зона 2 – zone of active heat and mass transfer of the thermosyphon of the experimental installation; 3 – zone low temperature potential; Нт – the height of the experimental installation (thermosyphon); Hc1 – the height of one section of the experimental installation [Compiled by the authors]](/images/2025/02_2025/114_2.webp)
Рис. 2 Схема экспериментальной установки: 1 – термосифон с естественной циркуляцией; 2 – цифровые термометры; 3 – емкость с речным песком; 4 – емкость с подогреваемой водой; 5 – погрузкой спиральный кипятильник; 6 – емкость с сухим льдом; зона 1 – зона повышенного температурного потенциала; зона 2 – зона активного тепломассопереноса термосифона экспериментальной установки; зона 3 – зона пониженного температурного потенциала; H1 – высота экспериментальной установки (термосифона); H2 – высота одной секции экспериментальной установки [Составлено авторами]
Fig. 2 Experimental setup scheme: 1 – natural thermosyphon; 2 – digital thermometer; 3 – container with river sand; 4 – container with heated water; 5 – submersible spiral boiler; 6 – container with dry ice; зона 1 – zone of increased temperature potential; зона 2 – zone of active heat and mass transfer of the thermosyphon of the experimental installation; 3 – zone low temperature potential; H1 – the height of the experimental installation (thermosyphon); H2 – the height of one section of the experimental installation [Compiled by the authors]
Эксперимент проводился при нормальных условиях в лаборатории кафедры теплотехники и теплоэнергетики Санкт-Петербургского горного университета императрицы Екатерины II.
Результаты и их обсуждение
Первый этап эксперимента проводился при следующих условиях: без разделителя сред восходящих и нисходящих потоков внутри установки; температура грунта поддерживалась на заданных значениях для каждого режима и каждой из четырех конфигураций модели; показания с цифровых термометров регистрировались с интервалом в 5 мин. Результаты первого этапа эксперимента представлены на рис. 3. Разница температур, показанная на диаграммах, указывает на перепад между зонами 2 и 3.
![Рис. 3 Эксперимент с вариацией температур грунтового массива и высоты экспериментальной установки без разделителя сред: а – при температуре грунтового массива 40 °С; б – при температуре грунтового массива 50 °С; в – при температуре грунтового массива 60 °С; г – при температуре грунтового массива 70 °С [Составлено авторами] Fig. 3 An experiment with the temperature variation of the soil mass and the height of the experimental installation without a media separator: a – at the soil mass temperature of 40 °C; б – at the soil mass temperature of 50 °C; в – at the soil mass temperature of 60 °C; г – at the soil mass temperature of 70 °C [Compiled by the authors]](/images/2025/02_2025/114_3.webp)
Рис. 3 Эксперимент с вариацией температур грунтового массива и высоты экспериментальной установки без разделителя сред: a – при температуре грунтового массива 40 °C; б – при температуре грунтового массива 50 °C; в – при температуре грунтового массива 60 °C; г – при температуре грунтового массива 70 °C [Составлено авторами]
Fig. 3 An experiment with the temperature variation of the soil mass and the height of the experimental installation without a media separator: a – at the soil mass temperature of 40 °C; б – at the soil mass temperature of 50 °C; в – at the soil mass temperature of 60 °C; г – at the soil mass temperature of 70 °C [Compiled by the authors]
Второй этап эксперимента проводился с введением в модель конструктивного разделителя сред восходящих и нисходящих потоков внутри установки; температура грунта поддерживалась на заданных значениях для каждого режима и в каждой из четырех конфигураций модели; показания с цифровых термометров регистрировались с интервалом в 5 мин. Результаты второго этапа эксперимента представлены на рис. 4. Разница температур, показанная на диаграммах, указывает на перепад между зонами 2 и 3.
![Рис. 4 Эксперимент с вариацией температур модели грунтового массива и высоты экспериментальной установки с разделителем сред: а – при температуре грунтового массива 40 °C; б – при температуре грунтового массива 50 °C; в – при температуре грунтового массива 60 °C; г – при температуре грунтового массива 70°C [Составлено авторами] Fig. 4 An experiment with the temperature variation of the soil mass model and the height of the experimental installation with a media separator: a – at the soil mass temperature of 40 °C; б – at the soil mass temperature of 50 °C; в – at the soil mass temperature of 60 °C; г – at the soil mass temperature of 70 °C [Compiled by the authors]](/images/2025/02_2025/114_4.webp)
Рис. 4 Эксперимент с вариацией температур модели грунтового массива и высоты экспериментальной установки с разделителем сред: a – при температуре грунтового массива 40 °C; б – при температуре грунтового массива 50 °C; в – при температуре грунтового массива 60 °C; г – при температуре грунтового массива 70 °C [Составлено авторами]
Fig. 4 An experiment with the temperature variation of the soil mass model and the height of the experimental installation with a media separator: a – at the soil mass temperature of 40 °C; б – at the soil mass temperature of 50 °C; в – at the soil mass temperature of 60 °C; г – at the soil mass temperature of 70 °C [Compiled by the authors]
Установлено, что при введении конструктивного разделителя нисходящих и восходящих потоков интенсивность тепломассопереноса увеличивается, что приводит к увеличению транспортируемого количества теплоты; стационарное состояние теплоносителя внутри геотермального термосифона с естественной циркуляцией наступает через 40 мин.
Зависимость количества транспортируемого тепла с наличием разделителя сред и без него представлена на рис. 5.
![Рис. 5 Количество перенесенного тепла экспериментальной установки с разделителем и без разделителя сред для модели Н = 2,0 м [Составлено авторами] Fig. 5 The amount of transferred heat of the experimental installation with and without a media separator for the model Н = 2,0 m [Compiled by the authors]](/images/2025/02_2025/114_5.webp)
Рис. 5 Количество перенесенного тепла экспериментальной установки с разделителем и без разделителя сред для модели H = 2,0 м [Составлено авторами]
Fig. 5 The amount of transferred heat of the experimental installation with and without a media separator for the model H = 2,0 m [Compiled by the authors]
Проведен анализ технологии по извлечению геотермальной энергии из недр земли, в основе которой лежит проведение эксперимента на модели геотермального термосифона с естественной циркуляцией.
На основе экспериментальных данных установлено, что интенсивность тепломассопереноса изменяется. С увеличением температуры грунтового массива количество перенесенного тепла повышается с наличием разделителя сред восходящих и нисходящих потоков в среднем на 25 %.
Заключение
В настоящее время геотермальная энергетика активно развивается в передовых странах по всему миру, в том числе в Российской Федерации. В зависимости от расположения глубинного естественного теплового коллектора существует ряд технологий по отбору и извлечению тепла на поверхность для использования в разных отраслях народного хозяйства. Повышение энергоэффективности геотермального оборудования является крайне важной стратегической задачей.
В ходе исследования проведен анализ функционирования геотермального термосифона с естественной циркуляцией рабочего тела. В такой системе транспортирование теплоты происходит на основе свободной конвекции, при которой движение флюида происходит при изменении его плотности вследствие изменения температуры.
Проведен эксперимент по определению влияния конструктивного разделителя сред восходящих и нисходящих потоков, который максимально установлен внутри термосифона, при изменении высоты экспериментальной модели и температуры грунтового массива. Определено, что с увеличением температуры грунтового массива количество перенесенного тепла повышается с наличием разделителя сред восходящих и нисходящих потоков в среднем на 25 %.
Вклад авторов
В.А. Лебедев – генерация идеи и постановка задач исследования.
Е.А. Зайцева – написание текста статьи, создание схем.
О.Л. Горина – получение данных для анализа, создание схем, написание текста статьи.
А.Н. Федоткина – написание текста статьи, выполнение работы по систематизации материала, анализу данных, проектирование и создание экспериментальной установки.
Сноски
1 Ground-source heat pump project analysis. Clean energy project analysis: retscreen engineering and cases textbook/Minister of Natural Resources Canada
2 Enhanced Geothermal Systems. Available at: https://www.energy.gov/eere/geothermal/enhanced-geothermal-systems. (accessed: 03.11.2024).
Вклад авторов
В.А. Лебедев – генерация идеи и постановка задач исследования.
Е.А. Зайцева – написание текста статьи, создание схем.
О.Л. Горина – получение данных для анализа, создание схем, написание текста статьи.
А.Н. Федоткина – написание текста статьи, выполнение работы по систематизации материала, анализу данных, проектирование и создание экспериментальной установки.
Список литературы
1. Шахназаров Б.А. ЕSG-принципы и устойчивое развитие. Правовые аспекты. Мониторинг правоприменения. 2022;(1):2–11. https://doi.org/10.21681/2226-0692-2022-1-2-11 Shakhnazarov B. ESG principles and sustainable development: Legal aspects. Monitoring of Law Enforcement. 2022;(1):2–11. (In Russ.) https://doi.org/10.21681/2226-0692-2022-1-2-11
2. Непша Ф.С., Варнавский К.А., Воронин В.А., Заславский И.С., Ливен А.С. Перспективы применения генерации на возобновляемых источниках энергии на угледобывающих предприятиях. Записки Горного института. 2023;261:455–469. Режим доступа: https://pmi.spmi.ru/pmi/article/view/16215 (дата обращения: 27.01.2025). Nepsha F.S., Varnavskiy K.A., Voronin V.A., Zaslavskiy I.S., Liven A.S. Integration of renewable energy at coal mining enterprises: problems and prospects. Journal of Mining Institute. 2023;261:455–469. Available at: https://pmi.spmi.ru/pmi/article/view/16215 (accessed: 27.01.2025).
3. Шпенст В.А., Бельский А.А., Орел Е.А. Повышение энергоэффективности автономного электротехнического комплекса с возобновляемыми источниками энергии на основании адаптивной регулировки режимов работы. Записки Горного института. 2023;261:479–492. Режим доступа: https://pmi.spmi.ru/pmi/article/view/16177 (дата обращения: 27.01.2025). Shpenst V.A., Belsky A.A., Orel E.A. Improving the efficiency of autonomous electrical complex with renewable energy sources by means of adaptive regulation of its operating modes. Journal of Mining Institute. 2023;261:479–492. Available at: https://pmi.spmi.ru/pmi/article/view/16177 (accessed: 27.01.2025).
4. Рыженков А.Я., Буринова Л.Д. Развитие возобновляемых источников энергии и их значение для перехода России на стандарты «зеленой» экономики. Известия Саратовского университета. Новая серия. Серия: Экономика. Управление. Право. 2022;22(4):432–439. https://doi.org/10.18500/1994-2540-2022-22-4-432-439 Ryzhenkov A.J., Burinova L.D. Development of renewable energy sources and their importance for Russia’s transition to the standards of a “green” economy. Izvestiya of Saratov University. Economics. Management. Law. 2022;22(4):432–439. (In Russ.) https://doi.org/10.18500/1994-2540-2022-22-4-432-439
5. Павлов А.А., Лавренов А.В. Перспективы внедрения инновационных технологий в получении геотермальной энергии. В кн.: 27-я Международная конференция по мягким вычислениям и измерениям (SCM’2024), г. Санкт-Петербург, 22–24 мая 2024 г. СПб.: ЛЭТИ; C. 515–518. Режим доступа: https://scm.etu.ru/assets/files/2024/sbornik-novyj/515-519.pdf (дата обращения: 27.01.2025).
6. Пашкевич М.А., Данилов А.С. Экологическая безопасность и устойчивое развитие. Записки Горного института. 2023;260:153–154. Режим доступа: https://pmi.spmi.ru/pmi/article/view/16233 (дата обращения: 27.01.2025). Pashkevich M.A., Danilov A.S. Ecological security and sustainability. Journal of Mining Institute. 2023;260:153–154. Available at: https://pmi.spmi.ru/pmi/article/view/16233 (accessed: 27.01.2025).
7. Егоров А.С., Большакова Н.В., Калинин Д.Ф., Агеев А.С. Глубинное строение, тектоника и геодинамика Охотоморского региона и структур его складчатого обрамления. Записки Горного института. 2022;257:703–719. https://doi.org/10.31897/PMI.2022.63 Egorov A.S., Bolshakova N.V., Kalinin D.F., Ageev A.S. Deep structure, tectonics and geodynamics of the Sea of Okhotsk region and structures of its folded frame. Journal of Mining Institute. 2022;257:703–719. https://doi.org/10.31897/PMI.2022.63
8. Богуславский Э.И., Смыслов А.А., Вайнблат А.Б., Смирнова Н.Н., Егоров С.В. Оценка количественных показателей ресурсов приповерхностной геотермальной энергии по регионам России и разработка карт перспективных ресурсов для различных глубин на примере одного из регионов: отчет о научно-исследовательской работе. СПб.: СПГГИ (ТУ); 2006.
9. Богуславский Э.И., Смыслов А.А., Вайнблат А.Б., Смирнова Н.Н., Егоров С.В. Оценка количественных показателей ресурсов приповерхностной геотермальной энергии по регионам России и разработка карт перспективных ресурсов для различных глубин на примере одного из регионов: отчет о научно-исследовательской работе. СПб.: СПГГИ (ТУ); 2006.
10. Алексеенко С.В. Перспективы развития геотермальной энергетики: лекция. Режим доступа: https://rutube.ru/video/970d77e49242404ced3f4af47876ce54/ (дата обращения: 27.01.2025).
11. Breede K., Dzebisashvili K., Liu X., Falcone G. A systematic review of enhanced (or engineered) geothermal systems: past, present and future. Geothermal Energy. 2013;1:4. https://doi.org/10.1186/2195-9706-1-4
12. Богуславский Э.И., Смирнова Н.Н., Егоров С.В. Тепломассообмен в приповерхностных геотермальных системах. Записки Горного института. 2010;187:24–30. Режим доступа: https://pmi.spmi.ru/pmi/article/view/6618 (дата обращения: 27.01.2025). Boguslavskiy E.I., Smirnova N.N., Egorov S.V. Heatmasstransfer to nearsurface geothermal systems. Journal of Mining Institute. 2010;187:24–30. (In Russ.) Available at: https://pmi.spmi.ru/pmi/article/view/6618 (accessed: 27.01.2025).
13. Богуславский Э.И., Фицак В.В. Технология и экономика освоения приповерхностных геотермальных ресурсов. Записки Горного института. 2017;224:189–198. https://doi.org/10.18454/PMI.2017.2.189 Boguslavskii E.I., Fitsak V.V. Technology and economics of near-surface geothermal resources exploitation. Journal of Mining Institute. 2017;224:189–198. https://doi.org/10.18454/PMI.2017.2.189
14. Лебедев В.А., Федоткина А.Н., Соловьев И.В. Моделирование работы геотермальной установки с естественной циркуляцией различных теплоносителей. Энергобезопасность и энергосбережение. 2024;(2):54–58. Lebedev V.A., Fedotkina A.N., Soloviev I.V. Simulation geothermal plant operations with natural circulation of various heat carriers. Energy Safety and Energy Economy. 2024;(2):54–58. (In Russ.)
15. Кирюхин А.В., Бергаль-Кувикас О.В., Лемзиков М.В., Журавлев Н.Б. Магматическая система Ключевского вулкана по сейсмическим данным и их геомеханической интерпретации. Записки Горного института. 2023;263:698–714. Режим доступа: https://pmi.spmi.ru/pmi/article/view/16305 (дата обращения: 27.01.2025). Kiryukhin A.V., Bergal-Kuvikas O.V., Lemzikov M.V., Zhuravlev N.B. Magmatic system of the Klyuchevskoy volcano according to seismic data and their geomechanical interpretation. Journal of Mining Institute. 2023;263:698–714. Available at: https://pmi.spmi.ru/pmi/article/view/16305 (accessed: 27.01.2025).
16. Михайлов А.В., Соловьев И.В. Анализ грейферной выемки волокнистого торфяного сырья. Устойчивое развитие горных территорий. 2023;15(4):1098–1107. https://doi.org/10.21177/1998-4502-2023-15-4-1098-1107 Mikhailov A.V., Soloviev I.V. Grab excavation analysis of fibrous peat raw material. Sustainable Development of Mountain Territories. 2023;15(4):1098–1107. (In Russ.) https://doi.org/10.21177/1998-4502-2023-15-4-1098-1107
17. Гендлер С.Г., Крюкова М.С., Алферова Е.Л. Исследование термодинамических параметров воздушной среды на линиях метрополитенов с однопутными и двухпутными тоннелями. Горные науки и технологии. 2024;9(3):250–262. https://doi.org/10.17073/2500-0632-2024-02-223 Gendler S.G., Kryukova M.S., Alferova E.L. Investigation of thermodynamic parameters of the air environment in subway lines with single-track and double-track tunnels. Mining Science and Technology (Russia). 2024;9(3):250–262. https://doi.org/10.17073/2500-0632-2024-02-223
18. Соловьев Б.А., Бодылев А.С., Павлов А.Д., Каекбирдина И.Д. Анализ перспектив развития геотермальной энергетики. Электротехнические и информационные комплексы и системы. 2023;19(1):117–124. Режим доступа: https://usptubulletin.ru/index.php/ele/article/view/11797 (дата обращения: 27.01.2025). Solovev B.A., Bodylev A.S., Pavlov A.D., Kaekbirdina I.D. Analysis of geothermal power engineering and development prospects. Electrical and Data Processing Facilities and Systems. 2023;19(1):117–124. (In Russ.) Available at: https://usptubulletin.ru/index.php/ele/article/view/11797 (accessed: 27.01.2025).
19. Чучалов А.А., Сафин М.А. Проектирование системы автоматического управления вентиляцией зданий с помощью геотермальной энергии. Мехатроника, автоматика и робототехника. 2023;(12):52–55. https://doi.org/10.26160/2541-8637-2023-12-52-55 Chuchalov A.A., Safin M.A. Design of automatic ventilation control system for buildings using geothermal energy. Mekhatronika, Avtomatika i Robototekhnika. 2023;(12):52–55. (In Russ.) https://doi.org/10.26160/2541-8637-2023-12-52-55
20. Mammadov P.Y. Investigating the geothermal energy potential of Absheron region for electricity generation using binary cycle technology. Geology and Geophysics of Russian South. 2024;14(1):162–171. https://doi.org/10.46698/VNC.2024.56.13.012.
21. Stroykov G., Cherepovitsyn A.Y., Iamshchikova E.A. Powering multiple gas condensate wells in russia’s arctic: power supply systems based on renewable energy sources. Resources. 2020;9(11):130. https://doi.org/10.3390/resources9110130.
22. Карабарин Д.И., Михайленко С.А. Использование низкопотенциальных источников энергии на основе органического цикла Ренкина. Журнал Сибирского федерального университета. Серия: Техника и технологии. 2018;11(7):867–876. https://doi.org/10.17516/1999-494X-0101 Karabarin D.I., Mihailenko S.A. The use of low-potential energy sources based on organic Rankine cycle. Journal of Siberian Federal University. Engineering & Technologies. 2018;11(7):867–876. (In Russ.) https://doi.org/10.17516/1999-494X-0101
23. Cherepovitsyn A., Rutenko E. Strategic planning of oil and gas companies: The decarbonization transition. Energies. 2022;15(17):6163. https://doi.org/10.3390/en15176163
24. Martynova T.A., Gilenko E.V., Kitaeva E.M., Bondar V.A., Orlova E.V., Drozdova N.P., Cherenkov V.I. Interdisciplinary communicative competence: From conceptualising to operationalising. The Education and Science Journal. 2023;25(4):12–36. https://doi.org/10.17853/1994-5639-2023-4-12-36
25. Александров А.А., Акатьев В.А., Тюрин М.П., Бородина Е.С., Седляров О.И. Аналитическое исследование теплообмена при нагреве или охлаждении лимитированного объема жидкости. Вестник Московского государственного технического университета им. Н.Э. Баумана. Серия Естественные науки. 2021;(6):17–34. https://doi.org/10.18698/1812-3368-2021-6-17-34 Aleksandrov A.A., Akatev V.A., Tyurin M.P., Borodina E.S., Sedlyarov O.I. Analytical study of heat transfer when heating or cooling a limited volume of liquid. Herald of the Bauman Moscow State Technical University Series Natural Sciences. 2021;(6):17–34. (In Russ.) https://doi.org/10.18698/1812-3368-2021-6-17-34
26. Зимин Р. Ю., Сержан С. Л., Малеванный Д. В. Применение преобразователей на постоянном и переменном токе в автономных системах электроснабжения на основе ветрогенераторов в условиях арктического шельфа. Горный информационно-аналитический бюллетень. 2024;(6):69–87. https://doi.org/10.25018/0236_1493_2024_6_0_69 Zimin R.Yu., Serzhan S.L., Malevannyi D.V. Application of DC/AC converters in self-contained power supply systems based on wind generators in the conditions of the Arctic Shelf. Mining Informational and Analytical Bulletin. 2024;(6):69–87. (In Russ.) https://doi.org/10.25018/0236_1493_2024_6_0_69
27. Пегин П.А., Филимонов Д.С. Особенности проектирования и строительства зданий в сейсмоопасных районах с многолетнемерзлыми грунтами. Известия Петербургского университета путей сообщения. 2023:20(4)878–890. https://doi.org/10.20295/1815-588X-2023-4-878-890. Pegin P.A., Filimonov D.S. Features of design and construction of buildings in seismically hazardous areas with permafrost soils. Proceedings of Petersburg Transport University. 2023:20(4)878–890. (In Russ.) https://doi.org/10.20295/1815-588X-2023-4-878-890.
28. Костенко С.А. Применение энергосберегающей геотермальной термостабилизации дорожного полотна на транспортных развязках, эстакадах и автостоянках аэропортов. Инновации и инвестиции. 2021;(10):102–109. Kostenko S.A. Application of energy-saving road clothing geothermal thermostabilization at airports' traffic intersections, overhead roads and parkings. Innovation & Investment. 2021;(10):102–109. (In Russ.)
29. Bist N., Sircar A. Hybrid solar geothermal setup by optimal retrofitting. Case Studies in Thermal Engineering. 2021;28:101529. https://doi.org/10.1016/j.csite.2021.101529.
30. Осипов А.Л. Применение геотермальной энергии для систем отопления и охлаждения зданий. Экономика и управление: проблемы, решения. 2024;3(8):148–154. https://doi.org/10.36871/ek.up.p.r.2024.08.03.017 Osipov A.L. Application of geothermal energy for building heating and cooling systems. Ekonomika i Upravlenie: Problemy, Resheniya. 2024;3(8):148–154. (In Russ.) https://doi.org/10.36871/ek.up.p.r.2024.08.03.017
31. Соловьев И.Г., Паньшин А.Е. Линеаризованный алгебраический анализ предельных температурных состояний мерзлых оснований, обустроенных термосифонами. Вестник кибернетики. 2007;(6):25–32. Solovyev I.G., Pan'shin A.Ye. Linearized algebraic analylsis of extreme temperature conditions of frozen foundations supplied with freezing siphons. Proceedings in Cybernetics. 2007;(6):25–32. (In Russ.)
32. Епифанов А.А., Дымо Б.В., Долганов Ю.А., Анастасенко С.Н. Экспериментальное исследование двухфазных закрытых термосифонов для экономайзеров котлов. Проблемы региональной энергетики. 2020;(2):65–78. https://doi.org/10.5281/zenodo.3898239 Epifanov A.A., Dymo B.V., Dolganov Y.A., Anastasenko S.N. Experimental investigation of two-phase closed thermosyphons for boiler economizers. Problems of the Regional Energetics. 2020;(2):65–78. (In Russ.) https://doi.org/10.5281/zenodo.3898239
33. Guan B., Liu X., Zhang T. Analytical solutions for the optimal cooling and heating source temperatures in liquid desiccant air-conditioning system based on exergy analysis. Energy. 2020;203:117860. https://doi.org/10.1016/j.energy.2020.117860
34. Pushkaryov S.D., Blumberga D., Gluchshenko T.I., Koshkin I.V. Theoretical studies of determining the efficiency indicators of heat pump installations under climatic conditions of the northern region of Kazakhstan Knstanay region. Universitet Enbekteri – University Proceedings. 2022;(2):272–277. https://doi.org/10.52209/1609-1825_2022_2_272










