Обоснование схемы сорбционного выщелачивания «тонкого» и чешуйчатого золота из хвостов промывки песков россыпей
А.Г. Секисов , Н.М. Литвинова, А.Е. Копылова
Институт горного дела Дальневосточного отделения Российской академии наук, г. Хабаровск, Российская Федерация
Russian Mining Industry №4S / 2025 p. 82-86
Резюме: Истощение запасов россыпных месторождений с гравиобогатимым золотом объективно предполагает необходимость использования при их освоении физико-химических геотехнологий: кучного, кюветного, чанового или скважинного выщелачивания. Для доизвлечения «тонкого» и чешуйчатого золота, большей частью теряемого с хвостами промывки песков россыпей, предложена схема чанового выщелачивания с локальной сорбцией растворенного золота из пульпы, обеспечивающая достижение максимального извлечения драгоценных металла и минимизирующая экологический ущерб. В статье рассмотрена технология сорбционного выщелачивания золота из техногенного россыпного минерального сырья, реализуемая с помощью установки, позволяющей сократить время технологического цикла и увеличить рабочую емкость сорбента, а следовательно, и прирост извлечения (доизвлечения) золота. Приводятся результаты экспериментов по активационному выщелачиванию сложноизвлекаемых форм золота, в которых были использованы различные реагенты-комплексообразователи и пошагово изменялись параметры подготовки технологических растворов и переработки пульпы.
Ключевые слова: россыпные месторождения, гравиобогатимое золото, тонкое золото, чешуйчатое золото, физико-химические геотехнологии, кюветное выщелачивание, локальное сорбционное выщелачивание, фотоэлектрохимическая подготовка растворов
Благодарности: Исследования выполнены на базе ЦКП «Центр исследования минерального сырья» Хабаровского исследовательского центра ДВО РАН.
Для цитирования: Секисов А.Г., Литвинова Н.М., Копылова А.Е. Обоснование схемы сорбционного выщелачивания «тонкого» и чешуйчатого золота из хвостов промывки песков россыпей. Горная промышленность. 2025;(4S):82–86. https://doi.org/10.30686/1609-9192-2025-4S-82-86
Информация о статье
Поступила в редакцию: 22.06.2025
Поступила после рецензирования: 13.08.2025
Принята к публикации: 21.08.2025
Информация об авторах
Секисов Артур Геннадиевич – доктор технических наук, заместитель директора по научной работе, Институт горного дела Дальневосточного отделения Российской академии наук, г. Хабаровск, Российская Федерация; e-mail: Адрес электронной почты защищен от спам-ботов. Для просмотра адреса в вашем браузере должен быть включен Javascript.
Литвинова Наталья Михайловна – кандидат технических наук, ведущий научный сотрудник лаборатории обогащения полезных ископаемых, Институт горного дела Дальневосточного отделения Российской академии наук, г. Хабаровск, Российская Федерация
Копылова Александра Евгеньевна – младший научный сотрудник лаборатории обогащения полезных ископаемых, Институт горного дела Дальневосточного отделения Российской академии наук, г. Хабаровск, Российская Федерация
Введение
Истощение запасов россыпных месторождений с гравиобогатимым золотом объективно предполагает необходимость использования при их освоении физико-химических геотехнологий: кучного, кюветного, чанового или скважинного выщелачивания [1–5]. Наиболее приемлемой для доизвлечения «тонкого» и чешуйчатого золота, большей частью теряемого с хвостами промывки песков россыпей, является схема чанового выщелачивания, не только исходя из условия достижения максимального извлечения драгметалла, но и в первую очередь исходя из экологических соображений. Технология чанового выщелачивания, т.е. выщелачивания в емкости в режиме агитации, широко используется при переработке золотосодержащих руд и реализуется в крупнообъемных технологических аппаратах – пачуках цианирования и сорбции, представляющих собой емкости, оборудованные эрлифтами (устройствами подачи сжатого воздуха, смонтированных внутри их нижней части) для перемешивания и последовательной перекачки рудной пульпы, в которые соответственно вводятся реагенты и сорбенты. Пачуки сорбции в оголовках, установленных в их верхней части, дополнительно оборудованы сетками для отделения ионообменной смолы, сорбирующей растворенное золото. Поскольку смола имеет большую крупность, чем минеральные частицы, то она остается на поверхности сеток, имеющих соответствующий размер разделяющей ячеи. Смола перемещается после съема на сетке из пачука в пачук от хвостового до головного, т.е. навстречу потоку пульпы для постепенного насыщения растворенным золотом.
Результаты
По традиционной схеме в головной пачук цианирования (рис. 1) подается раствор цианида натрия до достижения его конечной концентрации в жидкой фазе пульпы обычно порядка 0.03–0.05% (весовое).
Рис. 1 Традиционная схема сорбционного выщелачивания золота
Fig. 1 A traditional gold sorption leaching circuit
При этом процесс предварительного цианирования продолжается в среднем 6 ч (по часу в каждом из 6 пачуков цианирования).
Естественно, что для переработки песков россыпей, а тем более хвостов их промывки и даже ШОУ, такая сложная и капиталоемкая технология неприменима. Поэтому для использования технологии сорбционного выщелачивания золота применительно к россыпным объектам необходимо решить проблему интенсификации процессов как выщелачивания, так и сорбции золота.
Процессы сорбции золотосодержащих комплексов активным углем и ионообменными смолами (ионитами) изучаются уже более 50 лет. Несмотря на значительные успехи, достигнутые в этой области, главный вопрос о том, как именно происходит сорбция золота, остается до сих пор дискуссионным [3; 4; 6–8].
По формам нахождения золота в сорбенте модели сорбции его комплексов могут быть разделены на несколько групп, основными из которых являются:
1. Цианоауратная модель – комплексный золото-цианидный анион [Au(CN)2] – как таковой удерживается на поверхности сорбента силами Вандер–Ваальса.
2. Коллоидная модель – золото осаждается на угле в металлическом (коллоидном) виде, освобождаясь от лигандов (в частности, цианидов).
3. Модель смены лигандов. В процессе адсорбции золото-циановый комплекс трансформируется, диссоциирует и катион золота взаимодействует с другим анион-формирующим лигандом, находящимся на поверхности угля (карбоксильных, фенольных и др. групп).
В одной из новых моделей, предложенных в ИГД ДВО РАН, связь между золото-циановым комплексом (рассматриваемым как кластерная структура [nAu∙m(CN)2]n– и кластерами углерода отводится пленочной воде, точнее продуктам ее ионизации и кластеризации. По этой модели ионы OH- , связанные с периодически ионизируемыми атомами углерода, с одной стороны, через протоны (H+), образующиеся при диссоциации молекул воды контактного абсорбционного слоя, обеспечивают опосредованную связь с золото-циановыми анионами. Поскольку атомы углерода образуют цепочечные структуры, то в контактирующем с поверхностью сорбента пленочном слое формируются водные кластеры, включающие коллективизированную группу протонов, соответственно, активные центры на поверхности сорбента удерживают не отдельные анионы, а кластеризованные золотосодержащие комплексы.
Соответственно, для повышения интенсивности сорбции должна активироваться пленочная фаза сорбента с формированием в ней кластерных структур и повышаться концентрация комплексообразователя для золота в контактирующем с ним слое воды.
Правомерность этой модели подтверждена многочисленными экспериментами, в ходе которых обеспечивалось повышение сорбционной емкости угля (и ионообменной смолы), а также при проведении опытно-промышленных испытаний в заводских условиях (на гидрометаллургическом заводе ГМЗ-3 Навоийского ГМК).
На ГМЗ-3 была испытана инновационная технологическая схема двух- стадийной сорбции с подготовкой реагентов и сорбентов в опытном фотоэлектрохимическом реакторе, схема которой приведена на рис. 2.
Рис. 2 Технологическая схема двухстадийной сорбцииэлектросорбции с подготовкой реагентов в опытном фотоэлектрохимическом реакторе
Fig. 2 Technological circuit of twostage sorption-electrosorption with preparation of reagents in an experimental photoelectrochemical reactor
Главным отличием от традиционной технологии «уголь в пульпе» или «смола в пульпе» (см. рис. 1), когда сорбент перемещается против хода движения пульпы, т.е. по градиенту содержания растворенного золота, предлагаемая технология двухстадийной сорбции (см. рис. 2) предполагает первоначальный ввод сорбента по ходу движения пульпы, т.е. по градиенту содержания растворенного золота.
Процесс переработки начинается с окислительной подготовки пульпы, заключающейся в ее обработке раствором, содержащим ряд гидратированных форм активного кислорода [9–12]. Такой раствор подготавливается в фотоэлектрохимической установке из исходного слабого щелочного раствора. В результате электрохимического и фотохимического воздействия на исходный раствор в нем формируется ряд пероксидных, гидроксильных и гидроксидных комплексов. Аналогичный раствор может быть получен при электролизе насыщенного двух- или трехатомарным кислородом раствора щелочи, причем не только для последующего использования в качестве комплексообразователя для золота цианида натрия, но и для синтеза хлоркислородных, хлоркислородоводородных и, возможно, хлоркислородоазотных комплексов. Эти комплексы, сочетающие в себе функции окислителей и лигандов, формируются при облучении растворов в приэлектродных зонах (в мембранном и безмембранном вариантах электролитической ячейки) ультрафиолетовой лампой или при барботаже озонированным (фотоактивированным) воздухом межэлектродного пространства. Известно, что многие химические реакции, как простые (разложение бромистого серебра в фотопленке, двухатомарного кислорода на атомарный), так и сложные (фотосинтез в клетках растений, цепные реакции образования хлористого водорода, реакции полимеризации – образование многоатомных молекул) протекают под воздействием света. Причем большинство фотохимических реакций осуществляется только при воздействии ультрафиолетовых лучей.
Для каждой реакции существует граница частоты света, ниже которой она не реализуется:
![]()
где v, v0 – соответственно требуемая и граничная частота; h – постоянная Планка; Есв – энергия, необходимая для разрушения или образования межатомной связи. Доказательством участия в процессе растворения золота промежуточных многоатомных соединений атомов кислорода и водорода является образование при цианировании перекиси водорода как сопутствующего вещества. Молекулы озона (трехатомарного кислорода), перекиси водорода, гидроксил-радикала (ОН) и другие более сложные соединения водорода и кислорода, формирующиеся при воздействии на воздух ультрафиолетовым излучением, выполняют функцию высокоэнергетичных затравочных центров образования многоатомных кислород-водородных комплексов в водной среде. Данное предположение подтверждается установленным спектральным анализом появлением димеров и тримеров перекиси водорода в облученном ультрафиолетовым светом влажном воздухе. Кроме того, его подтверждают проведенные эксперименты по прямому облучению пульпы ультрафиолетовой лампой, позволившие получить увеличение содержания золота в жидкой фазе пульпы до 2,5–3 раз (по сравнению с контрольным процессом).
Таким образом, правомерно сделать вывод о том, что эффект, полученный при ультрафиолетовом облучении воздуха, закачиваемого в пульпу или водного раствора в процессах выщелачивания золота, необходимо рассматривать в первую очередь как результат фотохимического образования полимерных водород-кислородных комплексов (гидратированных пероксидов).
Можно предположить, что такие полимерные водород-кислородные комплексы не только окисляют продуктивные минеральные матрицы, но и кластеризуют лиганды (цианиды, хлориды и др.), соответственно повышая скорость протекания реакций комплексообразования золота. Сорбент (в данном случае ионообменная смола А-100) по предлагаемой технологии проходит подготовку в фотоэлектроактивированном растворе и затем насыщается цианидом натрия. Первая часть сорбента вводится в пульпу непосредственно после цианидов или одновременно с ними вторая, основная часть сорбента – против хода движения пульпы. Часть смолы, введенная в голове процесса, участвует в процессе локального цианирования, не только как поглотитель быстрорастворимой части золота и элементов-примесей, образующих комплексы с цианидом, но и как носитель комплексообразователя и окислителя.
Вторая часть смолы, введенная в хвостовой пачук сорбции, в основном работает в обычном режиме, т.е. поглощает золото, переходящее в жидкую фазу на завершающей стадии, поэтому в основном эта часть смолы выполняет функцию сорбента.
Эти растворы не содержали комплексообразователи для золота, но в ходе их обработки осуществлялось формирование гидратированных кластеризованных ионов Н+ и гидроксил-ионов ОН- , формирующих активные водные пленки на поверхности сорбентов и, как следствие, гидратные оболочки вокруг контактирующих с ними кластеризованных ионов [nH3O+∙m[Au(CN)2]n–, образующихся при растворении золота. Также были проведены эксперименты по использованию сорбентов, обработанных во 2-й стадии: активированным раствором и затем концентрированным раствором комплексообразователя, для интенсификации процесса растворения золота и его параллельного перевода в пленочную субфазу сорбента. При испытании этой схемы был получен прирост извлечения золота на смолу 17.3% относительно стандартной схемы (72.3 кг за 87 сут).
В период 2011–2024 гг. были проведены многочисленные эксперименты по доизвлечению золота активированными растворами на хвостовой пульпе гидрометзавода и на хвостах промывки песков россыпей. При этом, кроме цианидов, были испытаны и другие, бесцианидные реагенты-комплексообразователи, в том числе реагент нового поколения «Флотент голд». Во всех случаях по сравнению с использованием неподготовленных сорбентов или сорбентов, подготовленных обычными регенерирующими растворами, был получен прирост сорбционной емкости, а следовательно, и прирост извлечения (доизвлечения) золота.
Использование реагента Флотент позволяет выщелачивать чешуйчатое и тонкое золото из хвостов промывки песков с извлечением более 80%. При этом использование сорбента, обработанного фотоэлектроактивированным раствором, помещенного в перфорированную капсулу, контактирующую с барботируемой пульпой, сокращает время сорбции золота до 6–8 ч. Поскольку использование активированного сорбента позволяет существенно сократить время цикла выщелачивания, появляется возможность компактифицировать аппарат для сорбционного выщелачивания золота из хвостов промывки песков россыпей. На основе этих исследований в ИГД ДВО РАН был разработан способ сорбционного бесцианидного выщелачивания золота из техногенного россыпного минерального сырья, реализуемый с помощью компактной установки, приведенной на рис. 3.

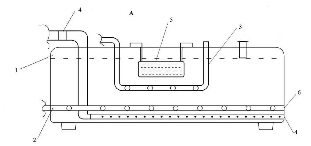
Рис. 3 Минипачук для выщелачивания сложноизвлекаемых форм золота из хвостов промывки песков россыпей
Fig. 3 A mini pachuca tank for leaching hard-to-recover gold from placer sand washing tailings
Установка представляет собой горизонтально ориентированный пачук, включающий емкость для выщелачивания 1, с основным барботажным контуром 2, малым барботажным контуром 3, пульпопроводом 4, съемной сорбционной кассетой с углем 5, перфорированными трубами-воздухоотводами 6.
Подготовку пульпы производят путем добавления воды к техногенному минеральному сырью, пульпу закачивают в емкость для сорбционного выщелачивания 1, в которую подают через барботажный контур 2 – через перфорированные трубы-воздуховоды 6 сжатый воздух для барботажа (перемешивания и насыщения кислородом пульпы) и интенсификации процесса сорбции и выщелачивания золота. На первом этапе в пульпу вводят выщелачивающие реагенты и подачей сжатого воздуха через основной барботажный контур 2 для равномерного растворения реагента производят барботаж пульпы в течение 15–20 мин.
После чего в емкости для выщелачивания 1 устанавливают съемную сорбционную кассету с углем 5, обработанным активированным концентрированным выщелачивающим раствором для интенсификации массообменных процессов и извлечения переходящего в жидкую фазу пульпы золота. Сетчатый каркас кассеты пропускает наиболее мелкие частицы минеральной массы, т.е. продуктивную на золото фракцию, включая «тонкое» (менее 0,25 мм и чешуйчатое) золото, при этом задерживает зерна сорбента в объеме кассеты. При прохождении восходящего потока пульпы с отделенным мелкофракционным материалом через слой сорбента реализуется процесс сорбционного выщелачивания. Причем процесс сорбции проводят в изолированном от основного объема пульпы пространстве, что резко снижает абразивный износ зерен сорбента крупными минеральными частицами и повышает локальное содержание как золота, так и концентрацию сорбента, что существенно ускоряет протекание массообменных процессов. Для обеспечения реализации сорбции золота зернами сорбента в режиме «кипящего слоя» и контактного насыщения пленочной воды, окружающей мелкие частицы золота, комплексообразователем, сконцентрированным на поверхности зерен сорбента, в кассету дополнительно к основной подаче сжатого воздуха подают сжатый воздух через малый барботажный контур 3.
Выводы
Предлагаемый способ сорбционного выщелачивания сложноизвлекаемых форм золота из продуктивной фракции песков россыпей и хвостов их промывки позволяет сократить время технологического цикла и увеличения рабочей емкости сорбента.
Список литературы
1. Рыскин М.И. Физико-геологическое моделирование как основа геологической интерпретации комплекса геофизических данных. Известия Саратовского университета. Новая серия. Серия Науки о Земле. 2014;14(1):87–96. https://doi.org/10.18500/1819-7663-2014-14-1-87-96Riskin M.I. Physical and geological modeling as a basis of geological interpretation of geophysical data complex. Izvestiya of Saratov University. Earth Sciences. 2014;14(1):87–96. (In Russ.) https://doi.org/10.18500/1819-7663-2014-14-1-87-96
2. Страхов В.Н. Основные идеи и методы извлечения информации из данных гравитационных и магнитных наблюдений. В кн.: Кузиванов В.А. (ред.) Теория и методика интерпретации гравитационных и магнитных аномалий. М.: ИФЗ; 1979. С. 146–269.
3. Calcara M., Caricaterra M. CO2 dipole moment: A simple model and its implications for CO2-rock interactions. Minerals. 2023;13(1):87. https://doi.org/10.3390/min13010087
4. Lopes J.A.G., Medeiros W.E., Oliveira J.G., Santana F.L., Araújo R.E.B., Bruna V. et al. Three-dimensional characterization of karstic dissolution zones, fracture networks, and lithostratigraphic interfaces using GPR cubes, core logs, and petrophysics: Implications for thief zones development in carbonate reservoirs. Marine and Petroleum Geology. 2023;150:106126. https://doi.org/10.1016/j.marpetgeo.2023.106126
5. Ермаков С.А., Бураков А.М., Заудальский И.И., Панишев С.В Совершенствование геотехнологий открытой разработки месторождений Севера. Якутск: Изд-во СО РАН; 2004. 370 с.
6. Федорова Л.Л., Соколов К.О., Прудецкий Н.Д., Шамаев С.Д. Георадиолокационные модели массива горных пород субарктической зоны Якутии. Горный информационно-аналитический бюллетень. 2023;(12-2):129–140. https://doi.org/10.25018/0236_1493_2023_122_0_129Fedorova L.L., Sokolov K.O., Prudetskii N.D., Shamaev S.D. GPR models of rock massif of the subarctic zone of the Yakutia. Mining Informational and Analytical Bulletin. 2023;(12-2):129–140. (In Russ.) https://doi.org/10.25018/0236_1493_2023_122_0_129
7. Лещанский Ю.И., Дробышев А.И. Электрические параметры песчано-глинистых грунтов в диапазоне УКВ и СВЧ в зависимости от влажности и температуры. М.: Информсоюз; 1995. 26 с.
8. Martel R., Castellazzi P., Gloaguen E., Trépanier L., Garfias J. ERT, GPR, InSAR, and tracer tests to characterize karst aquifer systems under urban areas: The case of Quebec City. Geomorphology. 2018;310:45–56. https://doi.org/10.1016/j.vgeomorph.2018.03.003
9. Alfuqara D., Anderson N. Geophysical site assessment of soil and the rock structure in karst terrain using 2D and 3D mapping of noninvasive electrical resistivity tomography – southwestern of MO, USA. Arabian Journal of Geosciences. 2023;16:103. https://doi.org/10.1007/s12517-023-11196-5
10. Нерадовский Л.Г. Прогноз диэлектрической проницаемости по электрическому сопротивлению песчаников южной Якутии. Геофизика. 2025;(2):40–48. https://doi.org/10.34926/geo.2025.27.16.006Neradovskii L.G. Prediction of dielectric constant by electrical resistance of sandstones of South Yakutia. Geophysics Journal. 2025;(2):40–48. (In Russ.) https://doi.org/10.34926/geo.2025.27.16.006
11. Федорова Л.Л., Фёдоров М.П., Свинобоев А.С. Физическое моделирование георадиолокационного мониторинга криогенных процессов в массиве рыхлых горных пород. Успехи современного естествознания. 2024;(11):106–111. https://doi.org/10.17513/use.38340Fedorova L.L., Fedorov M.P., Svinoboev A.S. Physical modeling of gpr monitoring of cryogenic processes in a loose rock massif. Advances in Current Natural Sciences. 2024;(11):106–111. (In Russ.) https://doi.org/10.17513/use.38340
12. Федорова Л.Л., Куляндин Г.А. Опыт применения метода георадиолокации при эксплуатационной разведке россыпных месторождений золота Якутии. Успехи современного естествознания. 2018;(11-1):160–165. tps://doi.org/10.17513/use.36921Fedorova L.L., Kulyandin G.A. Experience in applying the gpr method in the exploration of placer gold deposits of Yakutia. Advances in Current Natural Sciences. 2018;(11-1):160–165. (In Russ.) tps://doi.org/10.17513/use.36921
13. Savvin D.V., Fedorova L.L., Kulyandin G.A., Soloviev E.E. GPR studies of the permafrost conditions of the main pipeline area in Western Yakutia. In: 17th conference and exhibition engineering and mining geophysics 2021, Gelendzhik, April 26–30, 2021. European Association of Geoscientists & Engineers; 2021, pp. 1–5. https://doi.org/10.3997/2214-4609.202152087
14. Majchrowska S., Giannakis I., Warren C., Giannopoulos A. Modelling arbitrary complex dielectric properties – an automated implementation for gprMax. In: 2021 11th International Workshop on Advanced Ground Penetrating Radar (IWAGPR), Valletta, Malta, December 1–4, 2021. IEEE; 2021, pp. 1–5. https://doi.org/10.1109/IWAGPR50767.2021.9843152










